当前位置: 首页 > 知识产权交易 > 专利转让 >

待交易一种电缆生产表面印字装置

专利号:CN202221484569.6 已授权

申请日:2022-12-06发布日期:2022-12-06

立即收藏 立即询价 转让价格:询价

专利摘要

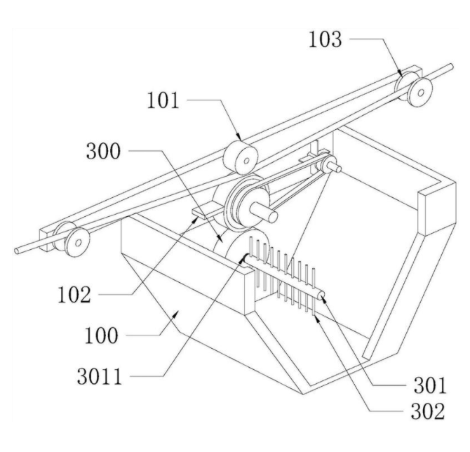
本实用新型涉及一种电缆生产表面印字装置,包括墨斗,墨斗的一侧固定连接有电机,电机的输出端固定连接有供墨轮,供墨轮位于墨斗的内腔,墨斗的内壁转动连接有字轮,字轮的外圆周面与字轮的外圆周面相接触,字轮的一侧固定连接与第一皮带轮,第一皮带轮的外圆周面套设有皮带条。本实用新型通过电机、供墨轮、连接轴、搅拌杆、字轮、第一皮带轮、皮带条、衔接轴、第二皮带轴和叶片,解决了现有的电缆表面印字装置对电缆进行印字的过程中,不便于第一时间对字体进行吹干,电缆在生产线输送过程中,其表面字体容易附着灰尘,现有的电缆表面印字装置使用过程中,不便于对内部墨水进行搅拌,墨水在空气中静置时其表层容易风干,影响印字效果的问题。

交易流程

  • 平台资深顾问将根据买家的需求,提供一对一服务,协助买家挑选到合适的专利。

  • 待买家确认无误后,根据顾问指导进行下单,并签订协议与合同,买家需要支付50%交易款给平台。

  • 平台将负责办理官方变更手续,向国知局提交转让材料。

  • 约10个工作日左右,待买家确认收到专利《变更手续合格通知书》后,向平台支付剩余交易款。

  • 转让成功后,平台会将专利证书原件、专利登记簿副本原件邮寄给买家,同时把交易尾款支付给卖家,保障双方交易顺利。

过户资料

主体资格 转让方提供 受让方提供 平台提供 转让完成,可获得
自然人 身份证复印件,专利证书原件; 身份证复印件
有效个体营业执照
转让申请书
代理委托书
转让协议书
发明人变更声明
专利证书
手续合格通知书
专利登记簿副本
公司 有效的企业营业执照副本复印件,专利证书原件 有效的企业营业执照副本复印件;企业组织机构代码证
平台专属代理事务所将对委托交易全程监督,确保所有交易合同及相关文件合法有效。

发布求购信息