当前位置: 首页 > 知识产权交易 > 专利转让 >

待交易一种电感耦合双铁基自养反硝化滤池处理装置

专利号:CN202221330617.6 已授权

申请日:2022-12-05发布日期:2022-12-05

立即收藏 立即询价 转让价格:询价

专利摘要

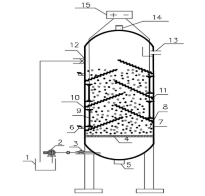
本实用新型公开了一种电感耦合双铁基自养反硝化滤池处理装置,其中,反硝化装置包括:装置本体;进水机构,进水机构设在装置本体底部的左下方;反硝化反应机构,反硝化反应机构包括过水折板,过水折板设置在所述装置本体内部;电化学机构,电化学机构包括电极卡扣及电极,电极卡扣将电极固定设置在所述装置本体的内部;回流机构,回流机构设置在所述装置本体的左上方;出水机构,出水机构设置在所述装置本体的顶部。本实用新型结构简单,相较于传统的自养反硝化装置,选用了双铁基作为自养反硝化的填料,增加了电化学反应,处理效果好,污泥产量少,无二次污染,能够长期稳定运行,有效的解决了低碳氮比污水的治理问题,具有良好的应用前景。

交易流程

  • 平台资深顾问将根据买家的需求,提供一对一服务,协助买家挑选到合适的专利。

  • 待买家确认无误后,根据顾问指导进行下单,并签订协议与合同,买家需要支付50%交易款给平台。

  • 平台将负责办理官方变更手续,向国知局提交转让材料。

  • 约10个工作日左右,待买家确认收到专利《变更手续合格通知书》后,向平台支付剩余交易款。

  • 转让成功后,平台会将专利证书原件、专利登记簿副本原件邮寄给买家,同时把交易尾款支付给卖家,保障双方交易顺利。

过户资料

主体资格 转让方提供 受让方提供 平台提供 转让完成,可获得
自然人 身份证复印件,专利证书原件; 身份证复印件
有效个体营业执照
转让申请书
代理委托书
转让协议书
发明人变更声明
专利证书
手续合格通知书
专利登记簿副本
公司 有效的企业营业执照副本复印件,专利证书原件 有效的企业营业执照副本复印件;企业组织机构代码证
平台专属代理事务所将对委托交易全程监督,确保所有交易合同及相关文件合法有效。

发布求购信息