当前位置: 首页 > 知识产权交易 > 专利转让 >

待交易一种蒽醌法制备双氧水的氢化系统

专利号:CN202221313841.4 已授权

申请日:2022-12-02发布日期:2022-12-02

立即收藏 立即询价 转让价格:询价

专利摘要

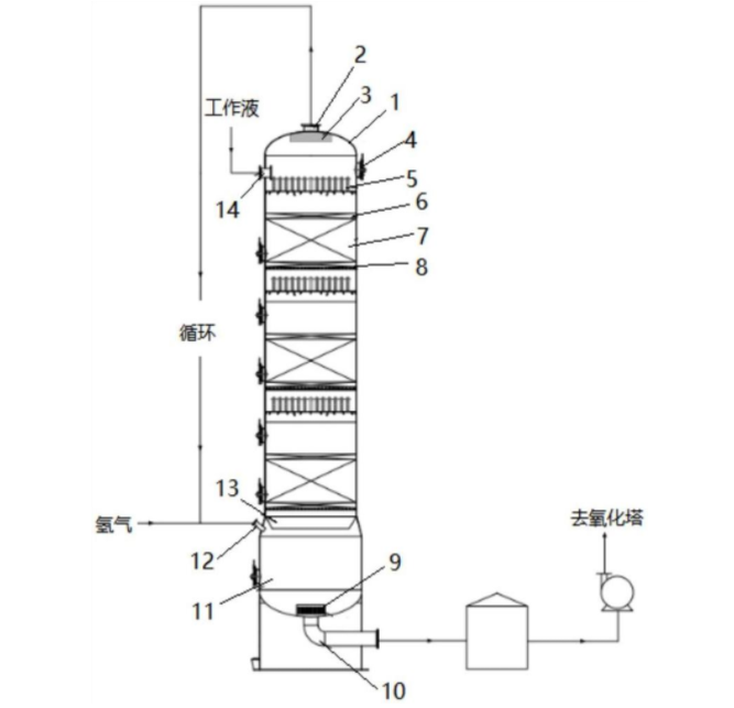
本实用新型公开了一种蒽醌法制备双氧水的氢化系统。系统包括氢化塔,氢化塔的上端设有出气管,氢化塔的下端设有出液管,氢化塔内从上往下依次设有三个触媒机构,位于最下方的触媒机构的下侧通过导流板连接有气液分离器,气液分离器的出料口与出液管连接,气液分离器的一侧连接有氢气进气管,氢化塔一侧且位于最上方的触媒机构的上方设有工作液进液管。本实用新型可根据工艺需要串联一节或两节,也可以同时串联三节使用,根据氢化效率及生产能力的要求而定自主调节,增强生产灵活性,通过塔内多层触媒反应,不仅可以达到较高氢效,而且能有效降低塔高,有助于提高产品浓度与装置规模,降低催化剂及蒽醌的消耗。

交易流程

  • 平台资深顾问将根据买家的需求,提供一对一服务,协助买家挑选到合适的专利。

  • 待买家确认无误后,根据顾问指导进行下单,并签订协议与合同,买家需要支付50%交易款给平台。

  • 平台将负责办理官方变更手续,向国知局提交转让材料。

  • 约10个工作日左右,待买家确认收到专利《变更手续合格通知书》后,向平台支付剩余交易款。

  • 转让成功后,平台会将专利证书原件、专利登记簿副本原件邮寄给买家,同时把交易尾款支付给卖家,保障双方交易顺利。

过户资料

主体资格 转让方提供 受让方提供 平台提供 转让完成,可获得
自然人 身份证复印件,专利证书原件; 身份证复印件
有效个体营业执照
转让申请书
代理委托书
转让协议书
发明人变更声明
专利证书
手续合格通知书
专利登记簿副本
公司 有效的企业营业执照副本复印件,专利证书原件 有效的企业营业执照副本复印件;企业组织机构代码证
平台专属代理事务所将对委托交易全程监督,确保所有交易合同及相关文件合法有效。

发布求购信息