当前位置: 首页 > 知识产权交易 > 专利转让 >

待交易一种混凝土外加剂均匀预拌装置

专利号:CN202221261689.X 已授权

申请日:2022-12-02发布日期:2022-12-02

立即收藏 立即询价 转让价格:询价

专利摘要

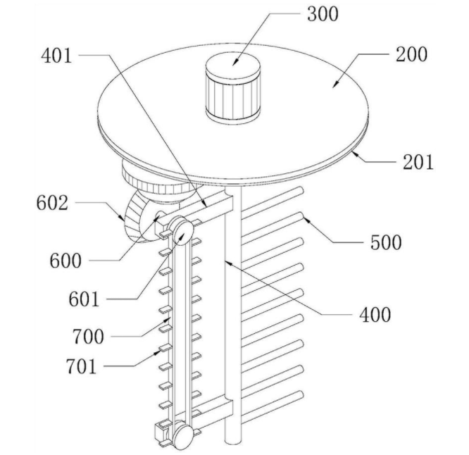
本实用新型涉及一种混凝土外加剂均匀预拌装置,包括搅拌筒,搅拌筒的上端设有盖板,盖板的上表面固定连接有电机,电机的输出端贯穿盖板并固定连接有连接轴,连接轴的外圆周面固定连接有搅拌杆,连接轴的外圆周面固定连接有一对衔接杆,一对衔接杆远离连接轴的一端均转动连接有衔接柱,一对连接轴的一端均固定连接有皮带轮,一对皮带轮之间通过皮带条相连接,皮带条的表面固定连接有翻动块。本实用新型通过连接轴、衔接杆、搅拌杆、衔接柱、皮带轮、皮带条和翻动块,解决了现有的预拌装置在对混凝土外加剂搅拌的过程中,不便于对外加剂粉体进行上下翻动,容易导致外加剂粉体不易充分均匀混合,影响外加剂粉体搅拌品质以及搅拌效率的问题。

交易流程

  • 平台资深顾问将根据买家的需求,提供一对一服务,协助买家挑选到合适的专利。

  • 待买家确认无误后,根据顾问指导进行下单,并签订协议与合同,买家需要支付50%交易款给平台。

  • 平台将负责办理官方变更手续,向国知局提交转让材料。

  • 约10个工作日左右,待买家确认收到专利《变更手续合格通知书》后,向平台支付剩余交易款。

  • 转让成功后,平台会将专利证书原件、专利登记簿副本原件邮寄给买家,同时把交易尾款支付给卖家,保障双方交易顺利。

过户资料

主体资格 转让方提供 受让方提供 平台提供 转让完成,可获得
自然人 身份证复印件,专利证书原件; 身份证复印件
有效个体营业执照
转让申请书
代理委托书
转让协议书
发明人变更声明
专利证书
手续合格通知书
专利登记簿副本
公司 有效的企业营业执照副本复印件,专利证书原件 有效的企业营业执照副本复印件;企业组织机构代码证
平台专属代理事务所将对委托交易全程监督,确保所有交易合同及相关文件合法有效。

发布求购信息