当前位置: 首页 > 知识产权交易 > 专利转让 >

待交易一种千斤顶的计量校准装置

专利号:CN202221264326.1 已授权

申请日:2022-12-02发布日期:2022-12-02

立即收藏 立即询价 转让价格:询价

专利摘要

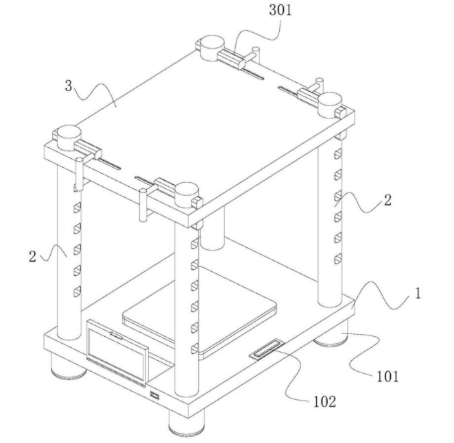
本实用新型涉及一种千斤顶的计量校准装置,涉及千斤顶校准技术领域。本实用新型包括支撑架、支撑杆和顶板,支撑架底端旋接有调平螺纹管,支撑架上侧前端卡接固定有水平仪,支撑架上侧一端转动卡接有显示器,支撑架上侧四周旋接固定有支撑杆,支撑杆外周面一端自上而下贯穿开设有定位孔,支撑杆上端卡接有顶板,顶板两端滑动卡接有定位杆。本实用新型通过支撑架、支撑杆和顶板,解决了现有的千斤顶占用空间较大,运输和收纳较为不便,使用的灵活性较低,无法进行水平调节,校准结果精度不高的问题。

交易流程

  • 平台资深顾问将根据买家的需求,提供一对一服务,协助买家挑选到合适的专利。

  • 待买家确认无误后,根据顾问指导进行下单,并签订协议与合同,买家需要支付50%交易款给平台。

  • 平台将负责办理官方变更手续,向国知局提交转让材料。

  • 约10个工作日左右,待买家确认收到专利《变更手续合格通知书》后,向平台支付剩余交易款。

  • 转让成功后,平台会将专利证书原件、专利登记簿副本原件邮寄给买家,同时把交易尾款支付给卖家,保障双方交易顺利。

过户资料

主体资格 转让方提供 受让方提供 平台提供 转让完成,可获得
自然人 身份证复印件,专利证书原件; 身份证复印件
有效个体营业执照
转让申请书
代理委托书
转让协议书
发明人变更声明
专利证书
手续合格通知书
专利登记簿副本
公司 有效的企业营业执照副本复印件,专利证书原件 有效的企业营业执照副本复印件;企业组织机构代码证
平台专属代理事务所将对委托交易全程监督,确保所有交易合同及相关文件合法有效。

发布求购信息