当前位置: 首页 > 知识产权交易 > 专利转让 >

待交易一种贝克曼梁路面弯沉仪计量校准装置

专利号:CN202221261336.X 已授权

申请日:2022-12-02发布日期:2022-12-02

立即收藏 立即询价 转让价格:询价

专利摘要

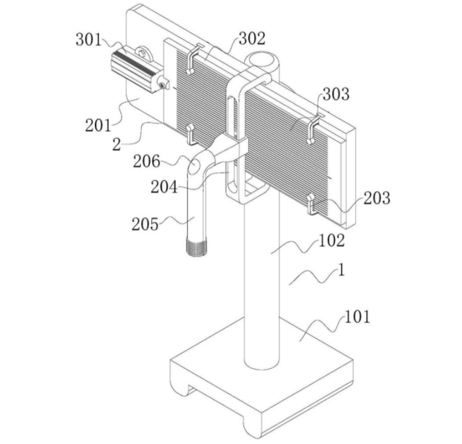
本实用新型涉及一种贝克曼梁路面弯沉仪计量校准装置,涉及道路工程技术领域。本实用新型包括支架、计量板架和绘描组件,其中支架上方的正面与计量板架固定连接,计量板架的正面与绘描组件活动连接;计量板架包括定位主板、调整滑槽、定位扣、描绘滑轨和驱动滑臂,定位主板的正面设置有两个调整滑槽,调整滑槽内部的上下两端活动连接有两个定位扣,调整滑槽之间设置有描绘滑轨,描绘滑轨的外侧与驱动滑臂滑动连接。本实用新型的贝克曼梁路面弯沉仪计量校准装置结构简单,可辅助贝克曼梁路面弯沉仪同步绘制计量曲线,不需要人工记忆,计量精度高,校准方便。

交易流程

  • 平台资深顾问将根据买家的需求,提供一对一服务,协助买家挑选到合适的专利。

  • 待买家确认无误后,根据顾问指导进行下单,并签订协议与合同,买家需要支付50%交易款给平台。

  • 平台将负责办理官方变更手续,向国知局提交转让材料。

  • 约10个工作日左右,待买家确认收到专利《变更手续合格通知书》后,向平台支付剩余交易款。

  • 转让成功后,平台会将专利证书原件、专利登记簿副本原件邮寄给买家,同时把交易尾款支付给卖家,保障双方交易顺利。

过户资料

主体资格 转让方提供 受让方提供 平台提供 转让完成,可获得
自然人 身份证复印件,专利证书原件; 身份证复印件
有效个体营业执照
转让申请书
代理委托书
转让协议书
发明人变更声明
专利证书
手续合格通知书
专利登记簿副本
公司 有效的企业营业执照副本复印件,专利证书原件 有效的企业营业执照副本复印件;企业组织机构代码证
平台专属代理事务所将对委托交易全程监督,确保所有交易合同及相关文件合法有效。

发布求购信息