当前位置: 首页 > 知识产权交易 > 专利转让 >

待交易一种灌注式路面高效自动灌浆装置

专利号:CN202121567291.4 已授权

申请日:2022-12-01发布日期:2022-12-01

立即收藏 立即询价 转让价格:询价

专利摘要

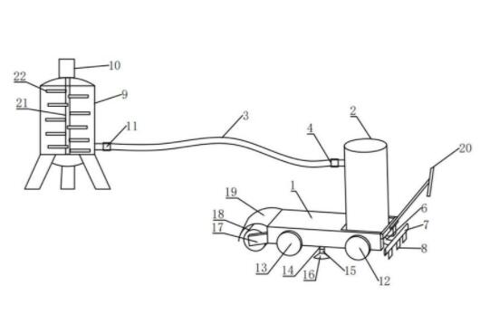
本实用新型公开了一种灌注式路面高效自动灌浆装置,自动灌浆装置包括底座,底座的前端开设有U型凹口,U型凹口上安装有灌浆机构,灌浆机构通过导通管连接有搅拌机构,底座的前端下侧设有驱动轮,驱动轮上设有驱动机构,底座的后端下侧设有从动轮,底座的中部下侧且位于驱动轮与从动轮之间设有抹浆机构,抹浆机构设为多个,多个抹浆机构沿底座的宽度方向间隔设置,底座的后侧设有刮浆机构,底座内部设有PLC控制器,灌浆机构、搅拌机构、驱动机构、抹浆机构和刮浆机构均与PLC控制器连接。本实用新型自动化程度高,可实现自动灌浆和刮浆操作,无需人工参与,工艺简便,施工效率高。

交易流程

  • 平台资深顾问将根据买家的需求,提供一对一服务,协助买家挑选到合适的专利。

  • 待买家确认无误后,根据顾问指导进行下单,并签订协议与合同,买家需要支付50%交易款给平台。

  • 平台将负责办理官方变更手续,向国知局提交转让材料。

  • 约10个工作日左右,待买家确认收到专利《变更手续合格通知书》后,向平台支付剩余交易款。

  • 转让成功后,平台会将专利证书原件、专利登记簿副本原件邮寄给买家,同时把交易尾款支付给卖家,保障双方交易顺利。

过户资料

主体资格 转让方提供 受让方提供 平台提供 转让完成,可获得
自然人 身份证复印件,专利证书原件; 身份证复印件
有效个体营业执照
转让申请书
代理委托书
转让协议书
发明人变更声明
专利证书
手续合格通知书
专利登记簿副本
公司 有效的企业营业执照副本复印件,专利证书原件 有效的企业营业执照副本复印件;企业组织机构代码证
平台专属代理事务所将对委托交易全程监督,确保所有交易合同及相关文件合法有效。

发布求购信息