当前位置: 首页 > 知识产权交易 > 专利转让 >

待交易一种为家禽类动物自动供水装置

专利号:CN202121567368.8 已授权

申请日:2022-12-01发布日期:2022-12-01

立即收藏 立即询价 转让价格:询价

专利摘要

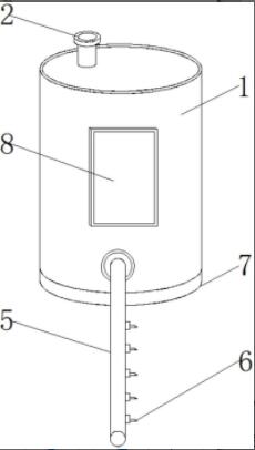
本实用新型公开了一种为家禽类动物自动供水装置,包括水箱,所述水箱的顶部一侧设置有外接水源组件,所述外接水源组件底部贯穿水箱的一侧设置有自动放水组件,所述水箱的内壁一侧固定安装有第二水位传感器,所述水箱的表面一侧设置有水源分流组件。首先可以将水箱直接放置到饲养群内,然后对水箱接上水管,当水箱内没有水时,水箱内部的第二水位传感器会对顶部卡接管表面的电磁阀发出信号,使其对卡接管进行开阀,从而使水流进入到水箱内部,当水箱内的水接满时,电磁阀一侧的第二水位传感器会第一时间感应到,然后对电磁阀发出信号,使其合上阀门,这样就无需人工进行供水,而且便于进行控制,确保整个饲养群都能得到供水。

交易流程

  • 平台资深顾问将根据买家的需求,提供一对一服务,协助买家挑选到合适的专利。

  • 待买家确认无误后,根据顾问指导进行下单,并签订协议与合同,买家需要支付50%交易款给平台。

  • 平台将负责办理官方变更手续,向国知局提交转让材料。

  • 约10个工作日左右,待买家确认收到专利《变更手续合格通知书》后,向平台支付剩余交易款。

  • 转让成功后,平台会将专利证书原件、专利登记簿副本原件邮寄给买家,同时把交易尾款支付给卖家,保障双方交易顺利。

过户资料

主体资格 转让方提供 受让方提供 平台提供 转让完成,可获得
自然人 身份证复印件,专利证书原件; 身份证复印件
有效个体营业执照
转让申请书
代理委托书
转让协议书
发明人变更声明
专利证书
手续合格通知书
专利登记簿副本
公司 有效的企业营业执照副本复印件,专利证书原件 有效的企业营业执照副本复印件;企业组织机构代码证
平台专属代理事务所将对委托交易全程监督,确保所有交易合同及相关文件合法有效。

发布求购信息