当前位置: 首页 > 知识产权交易 > 专利转让 >

待交易一种分体地埋式生活污水处理设备

专利号:CN202121528411.X 已授权

申请日:2022-12-01发布日期:2022-12-01

立即收藏 立即询价 转让价格:询价

专利摘要

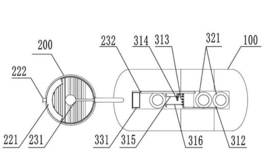
本实用新型公开了一种分体地埋式生活污水处理设备,包括卧式的反应主体与圆柱式的沉淀主体,反应主体和沉淀主体之间连接有过水管和污泥回流装置;所述反应主体在水平方向上依次设有厌氧区、缺氧区和好氧区;所述沉淀主体从下至上依次设有自由沉淀区、斜板分离区和出水堰,斜板分离区内设有多个斜板;在好氧区和缺氧区之间还设有硝化液回流装置。本实用新型采用地埋式安装,反应主体安装于冻土层以下,能够保证反应主体内部的温度,进而保证设备在冬季气温较低的地区也能够正常运行。采用气提回流式的污泥回流与硝化液回流装置,有效减少系统能耗。分体式的结构可将反应主体与沉淀主体分开,组合形式多样,解决部分农村地区场地紧张的问题。

交易流程

  • 平台资深顾问将根据买家的需求,提供一对一服务,协助买家挑选到合适的专利。

  • 待买家确认无误后,根据顾问指导进行下单,并签订协议与合同,买家需要支付50%交易款给平台。

  • 平台将负责办理官方变更手续,向国知局提交转让材料。

  • 约10个工作日左右,待买家确认收到专利《变更手续合格通知书》后,向平台支付剩余交易款。

  • 转让成功后,平台会将专利证书原件、专利登记簿副本原件邮寄给买家,同时把交易尾款支付给卖家,保障双方交易顺利。

过户资料

主体资格 转让方提供 受让方提供 平台提供 转让完成,可获得
自然人 身份证复印件,专利证书原件; 身份证复印件
有效个体营业执照
转让申请书
代理委托书
转让协议书
发明人变更声明
专利证书
手续合格通知书
专利登记簿副本
公司 有效的企业营业执照副本复印件,专利证书原件 有效的企业营业执照副本复印件;企业组织机构代码证
平台专属代理事务所将对委托交易全程监督,确保所有交易合同及相关文件合法有效。

发布求购信息