当前位置: 首页 > 知识产权交易 > 专利转让 >

待交易一种分体地埋式膜生物反应器

专利号: 已授权

申请日:2022-12-01发布日期:2022-12-01

立即收藏 立即询价 转让价格:询价

专利摘要

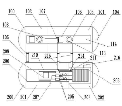
本实用新型涉及一种分体地埋式膜生物反应器,包括反应主体,所述反应主体埋设于地面下,所述反应主体有两个,分别为第一反应主体和第二反应主体,所述第一反应主体包括依次连接的缺氧区和厌氧区,所述第二反应主体包括依次连接的好氧区和MBR区,该MBR区内部设置有MBR膜组件,所述第一反应主体和第二反应主体的内部均设置有曝气装置,该第一反应主体和第二反应主体通过管道连接。本实用新型通过缺氧?厌氧?好氧?MBR工艺,提高整体脱氮和除磷的效率;采用气提装置进行污泥回流和污泥排放,降低设备耗能,节约运行成本;采用分体和地埋相结合的方式,进一步适应了气温较低地区的安装与运行问题。

交易流程

  • 平台资深顾问将根据买家的需求,提供一对一服务,协助买家挑选到合适的专利。

  • 待买家确认无误后,根据顾问指导进行下单,并签订协议与合同,买家需要支付50%交易款给平台。

  • 平台将负责办理官方变更手续,向国知局提交转让材料。

  • 约10个工作日左右,待买家确认收到专利《变更手续合格通知书》后,向平台支付剩余交易款。

  • 转让成功后,平台会将专利证书原件、专利登记簿副本原件邮寄给买家,同时把交易尾款支付给卖家,保障双方交易顺利。

过户资料

主体资格 转让方提供 受让方提供 平台提供 转让完成,可获得
自然人 身份证复印件,专利证书原件; 身份证复印件
有效个体营业执照
转让申请书
代理委托书
转让协议书
发明人变更声明
专利证书
手续合格通知书
专利登记簿副本
公司 有效的企业营业执照副本复印件,专利证书原件 有效的企业营业执照副本复印件;企业组织机构代码证
平台专属代理事务所将对委托交易全程监督,确保所有交易合同及相关文件合法有效。

发布求购信息