当前位置: 首页 > 知识产权交易 > 专利转让 >

待交易一种屋面挑檐结构预制和现浇结合的装置及其施工方法

专利号:CN202210531692.7 已授权

申请日:2022-12-01发布日期:2022-12-01

立即收藏 立即询价 转让价格:询价

专利摘要

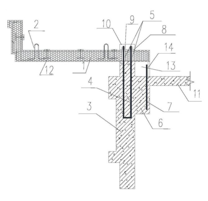
本发明提供一种屋面挑檐结构预制和现浇结合的装置及其施工方法,属于建筑施工技术领域,装置包括挑檐结构、支撑梁柱、预埋螺栓和后浇筑覆盖钢筋混凝土结构,预埋螺栓预埋在支撑梁柱上,并伸出顶部,挑檐结构的内侧段上设置有预留穿孔,挑檐结构吊装在支撑梁柱的顶部,预埋螺栓穿过预留穿孔并设置固定螺帽拧紧固定,后浇筑覆盖钢筋混凝土结构设置在固定螺帽上并覆盖设置。把挑檐结构直接在地面进行浇筑施工,可以很好的保证了挑檐结构的各个尺寸的精准浇筑施工,同时更加方便设置防水等,避免了高空设置支护的情况,可以大大的加快工期,同时在吊装时,通过设置内侧突出梁柱与挑檐结构进行端部焊接并设置混凝土结构浇筑,可以很好解决挑檐结构的受力问题。

交易流程

  • 平台资深顾问将根据买家的需求,提供一对一服务,协助买家挑选到合适的专利。

  • 待买家确认无误后,根据顾问指导进行下单,并签订协议与合同,买家需要支付50%交易款给平台。

  • 平台将负责办理官方变更手续,向国知局提交转让材料。

  • 约10个工作日左右,待买家确认收到专利《变更手续合格通知书》后,向平台支付剩余交易款。

  • 转让成功后,平台会将专利证书原件、专利登记簿副本原件邮寄给买家,同时把交易尾款支付给卖家,保障双方交易顺利。

过户资料

主体资格 转让方提供 受让方提供 平台提供 转让完成,可获得
自然人 身份证复印件,专利证书原件; 身份证复印件
有效个体营业执照
转让申请书
代理委托书
转让协议书
发明人变更声明
专利证书
手续合格通知书
专利登记簿副本
公司 有效的企业营业执照副本复印件,专利证书原件 有效的企业营业执照副本复印件;企业组织机构代码证
平台专属代理事务所将对委托交易全程监督,确保所有交易合同及相关文件合法有效。

发布求购信息