当前位置: 首页 > 知识产权交易 > 专利转让 >

待交易一种绿篱草屑压缩回收车

专利号:CN202210497247.3 已授权

申请日:2022-12-01发布日期:2022-12-01

立即收藏 立即询价 转让价格:询价

专利摘要

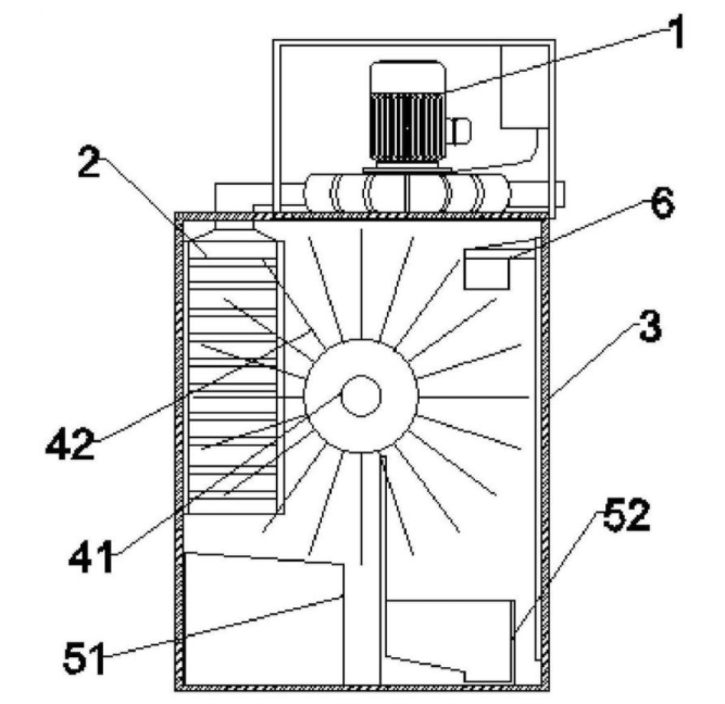
本发明提供一种绿篱草屑压缩回收车,属于绿化维护设备领域,包括吸尘部分以及分离部分,分离部分包括分离罩以及设置在分离罩中的分选箱、拨轮、收集部分,分离罩设置为连接在吸尘部分下方的箱体,分选箱的顶端与吸尘部分的出气口连接,分选箱的底端设置为敞口,收集部分包括叶箱和枝条箱,叶箱设置在分选箱下方,枝条箱设置在拨轮下方,被回收的草屑进入分选箱中后,枝条与叶片被分离,叶片直接落入叶箱。在回收的同时就对叶片与枝干进行分离,这样不仅有利于后续植物垃圾的回收利用,而且分离后的枝条可以单独进行压实,增加储存空间,通过拨轮将分离后的枝条转移到枝条箱中,没有繁琐的中间过程,整体结构紧凑,产地面积更小。

交易流程

  • 平台资深顾问将根据买家的需求,提供一对一服务,协助买家挑选到合适的专利。

  • 待买家确认无误后,根据顾问指导进行下单,并签订协议与合同,买家需要支付50%交易款给平台。

  • 平台将负责办理官方变更手续,向国知局提交转让材料。

  • 约10个工作日左右,待买家确认收到专利《变更手续合格通知书》后,向平台支付剩余交易款。

  • 转让成功后,平台会将专利证书原件、专利登记簿副本原件邮寄给买家,同时把交易尾款支付给卖家,保障双方交易顺利。

过户资料

主体资格 转让方提供 受让方提供 平台提供 转让完成,可获得
自然人 身份证复印件,专利证书原件; 身份证复印件
有效个体营业执照
转让申请书
代理委托书
转让协议书
发明人变更声明
专利证书
手续合格通知书
专利登记簿副本
公司 有效的企业营业执照副本复印件,专利证书原件 有效的企业营业执照副本复印件;企业组织机构代码证
平台专属代理事务所将对委托交易全程监督,确保所有交易合同及相关文件合法有效。

发布求购信息