当前位置: 首页 > 知识产权交易 > 专利转让 >

待交易功能性逃生医用门

专利号:CN202221069819.X 已授权

申请日:2022-12-01发布日期:2022-12-01

立即收藏 立即询价 转让价格:询价

专利摘要

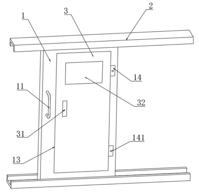
本实用新型提供功能性逃生医用门,涉及医疗设备技术领域,功能性逃生医用门,包括平移门,所述平移门上下两端设有用于平移门来回滑动并限位的轨道,所述平移门上设有贯穿式且呈方形的逃生槽,所述逃生槽内设有可开合且用于逃生槽密封逃生门,所述逃生门一侧设有多个固定连接的三维可调隐藏式铰链,所述三维可调隐藏式铰链另一端与相应的逃生门固定连接。本实用新型,能有效的防止了在平移门无法平移开启使,通过打开逃生门,即可快速从平移门内逃出,在消防火灾及应急情况下,能够紧急推开,往室外逃生,而三维可调隐藏式铰链的设计,能够将原有的铰链进行隐藏,使逃生门能够完全隐藏在平移门内,实现了一体化,保证了整体的美观性。

交易流程

  • 平台资深顾问将根据买家的需求,提供一对一服务,协助买家挑选到合适的专利。

  • 待买家确认无误后,根据顾问指导进行下单,并签订协议与合同,买家需要支付50%交易款给平台。

  • 平台将负责办理官方变更手续,向国知局提交转让材料。

  • 约10个工作日左右,待买家确认收到专利《变更手续合格通知书》后,向平台支付剩余交易款。

  • 转让成功后,平台会将专利证书原件、专利登记簿副本原件邮寄给买家,同时把交易尾款支付给卖家,保障双方交易顺利。

过户资料

主体资格 转让方提供 受让方提供 平台提供 转让完成,可获得
自然人 身份证复印件,专利证书原件; 身份证复印件
有效个体营业执照
转让申请书
代理委托书
转让协议书
发明人变更声明
专利证书
手续合格通知书
专利登记簿副本
公司 有效的企业营业执照副本复印件,专利证书原件 有效的企业营业执照副本复印件;企业组织机构代码证
平台专属代理事务所将对委托交易全程监督,确保所有交易合同及相关文件合法有效。

发布求购信息