当前位置: 首页 > 知识产权交易 > 专利转让 >

待交易新型塔式起重机定型化防护过道

专利号:CN202121460042.5 已授权

申请日:2022-11-30发布日期:2022-11-30

立即收藏 立即询价 转让价格:询价

专利摘要

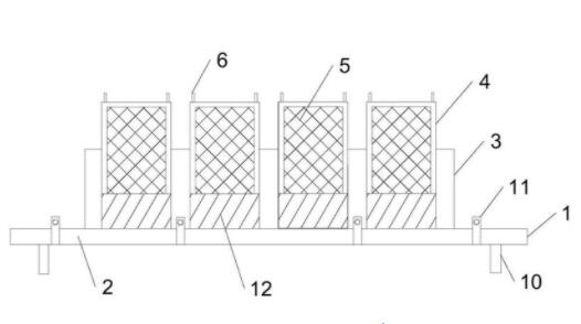
本实用新型公开了一种新型塔式起重机定型化防护过道,包括过道装置和防护装置,所述过道装置包括过道框架和走道板;所述防护装置包括侧面防护装置和顶部防护装置,所述侧面防护装置包括侧面框架、钢丝网和踢脚板,所述顶部防护装置通过滑轮、滑绳与侧面框架连接。本实用新型整体性强,主要配件能重复周转使用,组装与拆卸方便,外形美观,使用安全,不存在坠物危险,有效消除了传统塔式起重机过道的安全隐患,保证特种工作业人员的职业健康安全,其应用提升了建筑工程项目安全文明施工形象,积极响应了国家要求低碳环保的号召。

交易流程

  • 平台资深顾问将根据买家的需求,提供一对一服务,协助买家挑选到合适的专利。

  • 待买家确认无误后,根据顾问指导进行下单,并签订协议与合同,买家需要支付50%交易款给平台。

  • 平台将负责办理官方变更手续,向国知局提交转让材料。

  • 约10个工作日左右,待买家确认收到专利《变更手续合格通知书》后,向平台支付剩余交易款。

  • 转让成功后,平台会将专利证书原件、专利登记簿副本原件邮寄给买家,同时把交易尾款支付给卖家,保障双方交易顺利。

过户资料

主体资格 转让方提供 受让方提供 平台提供 转让完成,可获得
自然人 身份证复印件,专利证书原件; 身份证复印件
有效个体营业执照
转让申请书
代理委托书
转让协议书
发明人变更声明
专利证书
手续合格通知书
专利登记簿副本
公司 有效的企业营业执照副本复印件,专利证书原件 有效的企业营业执照副本复印件;企业组织机构代码证
平台专属代理事务所将对委托交易全程监督,确保所有交易合同及相关文件合法有效。

发布求购信息