当前位置: 首页 > 知识产权交易 > 专利转让 >

待交易一种带有备用管路的血液透析用新型静脉回路管

专利号:CN202121379597.7 已授权

申请日:2022-11-30发布日期:2022-11-30

立即收藏 立即询价 转让价格:询价

专利摘要

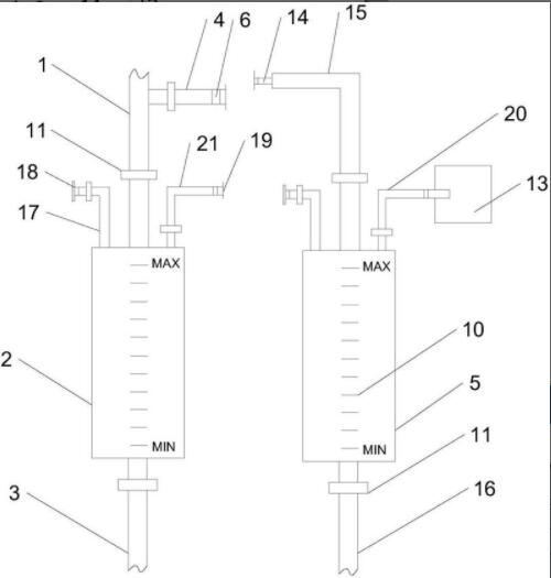
本实用新型公开了一种带有备用管路的血液透析用新型静脉回路管,包括主回路管和备用回路管,主回路管上设有主静脉壶;所述主静脉壶的上、下两端分别设有主进液管和主出液管,在主进液管上设有侧进液管,侧进液管的末端设有接口;所述备用回路管设有备用静脉壶,备用静脉壶的上、下两端分别设有备用进液管和备用出液管;在备用进液管的末端设有可与接口连接的鲁尔接头;所述主静脉壶和备用静脉壶的内部结构相同。本实用新型的备用回路管结构简单,降低了原装静脉管路中静脉壶凝血导致血液无法回输导致血液丢失现象的产生,提升了便于操作人员的操作以及病人治疗使用,具有良好的实用性。

交易流程

  • 平台资深顾问将根据买家的需求,提供一对一服务,协助买家挑选到合适的专利。

  • 待买家确认无误后,根据顾问指导进行下单,并签订协议与合同,买家需要支付50%交易款给平台。

  • 平台将负责办理官方变更手续,向国知局提交转让材料。

  • 约10个工作日左右,待买家确认收到专利《变更手续合格通知书》后,向平台支付剩余交易款。

  • 转让成功后,平台会将专利证书原件、专利登记簿副本原件邮寄给买家,同时把交易尾款支付给卖家,保障双方交易顺利。

过户资料

主体资格 转让方提供 受让方提供 平台提供 转让完成,可获得
自然人 身份证复印件,专利证书原件; 身份证复印件
有效个体营业执照
转让申请书
代理委托书
转让协议书
发明人变更声明
专利证书
手续合格通知书
专利登记簿副本
公司 有效的企业营业执照副本复印件,专利证书原件 有效的企业营业执照副本复印件;企业组织机构代码证
平台专属代理事务所将对委托交易全程监督,确保所有交易合同及相关文件合法有效。

发布求购信息