当前位置: 首页 > 知识产权交易 > 专利转让 >

待交易一种混凝土灌注桩灌浆加固结构

专利号:CN202121317859.7 已授权

申请日:2022-11-30发布日期:2022-11-30

立即收藏 立即询价 转让价格:询价

专利摘要

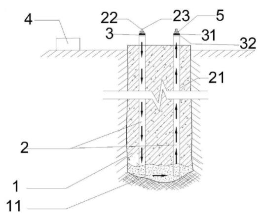
本实用新型公开了一种混凝土灌注桩灌浆加固结构,包括灌注桩,所述灌注桩上设有灌注孔,所述灌注孔有多个,该灌注孔沿灌注桩顶部垂直延伸至灌注桩桩底持力岩层,所述灌注孔内设有钢管,所述钢管内设有注浆管和排气管,所述钢管顶端设有封闭板,该封闭板与钢管固定连接,所述封闭板上设有孔,所述注浆管和排气管分别贯穿该孔设置在钢管内,所述注浆管的一端与高压注浆泵连接。根据本实用新型的灌浆加固结构能最大限度的清理桩底沉渣,与此同时,通过该灌浆加固结构可以实现二次灌浆,进一步增强了桩基的稳定性。

交易流程

  • 平台资深顾问将根据买家的需求,提供一对一服务,协助买家挑选到合适的专利。

  • 待买家确认无误后,根据顾问指导进行下单,并签订协议与合同,买家需要支付50%交易款给平台。

  • 平台将负责办理官方变更手续,向国知局提交转让材料。

  • 约10个工作日左右,待买家确认收到专利《变更手续合格通知书》后,向平台支付剩余交易款。

  • 转让成功后,平台会将专利证书原件、专利登记簿副本原件邮寄给买家,同时把交易尾款支付给卖家,保障双方交易顺利。

过户资料

主体资格 转让方提供 受让方提供 平台提供 转让完成,可获得
自然人 身份证复印件,专利证书原件; 身份证复印件
有效个体营业执照
转让申请书
代理委托书
转让协议书
发明人变更声明
专利证书
手续合格通知书
专利登记簿副本
公司 有效的企业营业执照副本复印件,专利证书原件 有效的企业营业执照副本复印件;企业组织机构代码证
平台专属代理事务所将对委托交易全程监督,确保所有交易合同及相关文件合法有效。

发布求购信息