当前位置: 首页 > 知识产权交易 > 专利转让 >

待交易一种回转式含油污泥热解设备

专利号:CN202121317859.7 已授权

申请日:2022-11-30发布日期:2022-11-30

立即收藏 立即询价 转让价格:询价

专利摘要

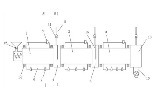
本实用新型公开了一种回转式含油污泥热解设备,包括进料装置、窑体、加热装置、连接罩、出料装置、控制装置、传动装置,所述窑体有多段,各段窑体之间通过连接罩连接,所述加热装置包括加热炉、燃烧喷嘴和排烟管,所述加热炉包覆在窑体外围,所述排烟管设置在窑体顶部,所述燃烧喷嘴均匀布设在各段窑体的加热炉内,该燃烧喷嘴的数量在各段窑体的加热炉内依次增加,所述燃烧喷嘴与控制装置电连接,本实用新型通过设置多段式独立加热、互相连接的回转窑,实现了含油污泥干燥、低温热解和高温热解的连续化运行并分别回含油污泥中不同组分的目的,显著提高了回收油的品质

交易流程

  • 平台资深顾问将根据买家的需求,提供一对一服务,协助买家挑选到合适的专利。

  • 待买家确认无误后,根据顾问指导进行下单,并签订协议与合同,买家需要支付50%交易款给平台。

  • 平台将负责办理官方变更手续,向国知局提交转让材料。

  • 约10个工作日左右,待买家确认收到专利《变更手续合格通知书》后,向平台支付剩余交易款。

  • 转让成功后,平台会将专利证书原件、专利登记簿副本原件邮寄给买家,同时把交易尾款支付给卖家,保障双方交易顺利。

过户资料

主体资格 转让方提供 受让方提供 平台提供 转让完成,可获得
自然人 身份证复印件,专利证书原件; 身份证复印件
有效个体营业执照
转让申请书
代理委托书
转让协议书
发明人变更声明
专利证书
手续合格通知书
专利登记簿副本
公司 有效的企业营业执照副本复印件,专利证书原件 有效的企业营业执照副本复印件;企业组织机构代码证
平台专属代理事务所将对委托交易全程监督,确保所有交易合同及相关文件合法有效。

发布求购信息