当前位置: 首页 > 知识产权交易 > 专利转让 >

待交易一种用于重金属污染土壤原位钝化的修复系统

专利号:CN202121251353.0 已授权

申请日:2022-11-29发布日期:2022-11-29

立即收藏 立即询价 转让价格:询价

专利摘要

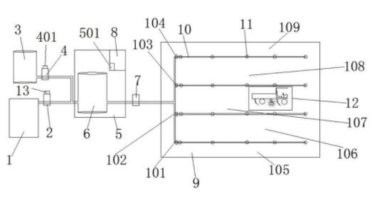
本实用新型公开了,包括集水池、抽水装置、药剂添加桶、药剂输送装置、中控装置、泵送装置、喷灌装置、药剂混合车;所述集水池、药剂添加桶并联后与设于中控装置上的药剂混合桶连通;药剂混合桶另一端还与多根农田管道连通,药剂混合桶与农田管道之间设有泵送装置;农田管道上设有喷灌装置;中控装置上设有控制平台;所述多根农田管道铺设于重金属污染农田上,在重金属污染农田上还设有药剂混合车。本实用新型可规模化、同时修复大面积农田,只需一名工作人员即可完成所有的修复工作以及农田翻耕,无需将污染土壤搬运至其他地方进行修复,节约人力物力,操作简单方便,工作效率高,具有良好的应用前景。

交易流程

  • 平台资深顾问将根据买家的需求,提供一对一服务,协助买家挑选到合适的专利。

  • 待买家确认无误后,根据顾问指导进行下单,并签订协议与合同,买家需要支付50%交易款给平台。

  • 平台将负责办理官方变更手续,向国知局提交转让材料。

  • 约10个工作日左右,待买家确认收到专利《变更手续合格通知书》后,向平台支付剩余交易款。

  • 转让成功后,平台会将专利证书原件、专利登记簿副本原件邮寄给买家,同时把交易尾款支付给卖家,保障双方交易顺利。

过户资料

主体资格 转让方提供 受让方提供 平台提供 转让完成,可获得
自然人 身份证复印件,专利证书原件; 身份证复印件
有效个体营业执照
转让申请书
代理委托书
转让协议书
发明人变更声明
专利证书
手续合格通知书
专利登记簿副本
公司 有效的企业营业执照副本复印件,专利证书原件 有效的企业营业执照副本复印件;企业组织机构代码证
平台专属代理事务所将对委托交易全程监督,确保所有交易合同及相关文件合法有效。

发布求购信息