当前位置: 首页 > 知识产权交易 > 专利转让 >

待交易一种新型工民建筑墙体加固装置及其加固方法

专利号:CN202210427106.4 已授权

申请日:2022-11-29发布日期:2022-11-29

立即收藏 立即询价 转让价格:询价

专利摘要

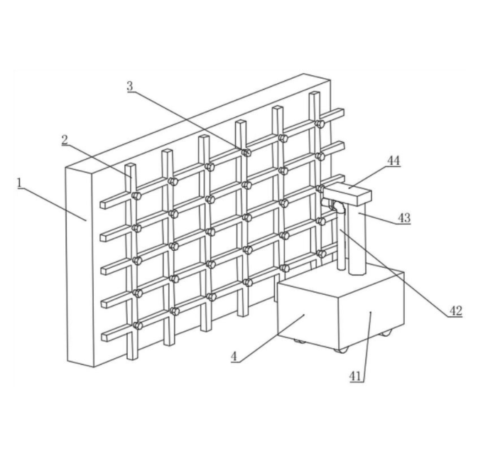
本发明公开了一种新型工民建筑墙体加固装置及其加固方法,应用在墙体表面加固上,所述加固装置包括加固网板和喷浆机,所述加固网板上设有多个用于固定的定位孔,所述定位孔内设有用于将加固网板悬浮固定在墙体表面的钻孔螺栓,所述喷浆机内设有用于喷淋在墙体表面的混凝土泥浆,喷浆机输出端设有用于混凝土泥浆喷淋的喷浆管道,且喷浆机上设有可上下运动的调节板,所述喷浆管道输出端与调节板底部相连接,所述喷浆机底部设有多个可转动且可用于喷浆机移动的滚轮。利用钻孔螺栓将加固网板固定在墙体表面作为骨架,然后将混凝土进行喷浆,二者相结合,能够有效的提高了墙体的稳定性,实现了墙体的加固。

交易流程

  • 平台资深顾问将根据买家的需求,提供一对一服务,协助买家挑选到合适的专利。

  • 待买家确认无误后,根据顾问指导进行下单,并签订协议与合同,买家需要支付50%交易款给平台。

  • 平台将负责办理官方变更手续,向国知局提交转让材料。

  • 约10个工作日左右,待买家确认收到专利《变更手续合格通知书》后,向平台支付剩余交易款。

  • 转让成功后,平台会将专利证书原件、专利登记簿副本原件邮寄给买家,同时把交易尾款支付给卖家,保障双方交易顺利。

过户资料

主体资格 转让方提供 受让方提供 平台提供 转让完成,可获得
自然人 身份证复印件,专利证书原件; 身份证复印件
有效个体营业执照
转让申请书
代理委托书
转让协议书
发明人变更声明
专利证书
手续合格通知书
专利登记簿副本
公司 有效的企业营业执照副本复印件,专利证书原件 有效的企业营业执照副本复印件;企业组织机构代码证
平台专属代理事务所将对委托交易全程监督,确保所有交易合同及相关文件合法有效。

发布求购信息