当前位置: 首页 > 知识产权交易 > 专利转让 >

待交易一种增强型防雷绝缘子及灭弧方法

专利号:CN202210418406.6 已授权

申请日:2022-11-29发布日期:2022-11-29

立即收藏 立即询价 转让价格:询价

专利摘要

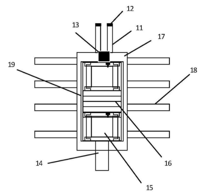
本发明提供一种增强型防雷绝缘子及灭弧方法,属于防雷灭弧技术领域,包括反冲管、塑料壳体和裙边,反冲管设置在塑料壳体的顶端,裙边间隔设置在塑料壳体侧边,塑料壳体内部设置有若干个液体阀片和若干个氧化锌阀片,液体阀片与氧化锌阀片首尾串接设置,液体阀片与液体阀片之间串接有氧化锌阀片或者氧化锌阀片与氧化锌阀片之间串接有液体阀片。本发明提高绝缘子灭弧能力,适应于全尺度大电流灭弧需求,对于弱电流灭能力灵敏,动作迅速有效。对于大电流能够通过自能量转化,有效灭弧,形成良性循环。

交易流程

  • 平台资深顾问将根据买家的需求,提供一对一服务,协助买家挑选到合适的专利。

  • 待买家确认无误后,根据顾问指导进行下单,并签订协议与合同,买家需要支付50%交易款给平台。

  • 平台将负责办理官方变更手续,向国知局提交转让材料。

  • 约10个工作日左右,待买家确认收到专利《变更手续合格通知书》后,向平台支付剩余交易款。

  • 转让成功后,平台会将专利证书原件、专利登记簿副本原件邮寄给买家,同时把交易尾款支付给卖家,保障双方交易顺利。

过户资料

主体资格 转让方提供 受让方提供 平台提供 转让完成,可获得
自然人 身份证复印件,专利证书原件; 身份证复印件
有效个体营业执照
转让申请书
代理委托书
转让协议书
发明人变更声明
专利证书
手续合格通知书
专利登记簿副本
公司 有效的企业营业执照副本复印件,专利证书原件 有效的企业营业执照副本复印件;企业组织机构代码证
平台专属代理事务所将对委托交易全程监督,确保所有交易合同及相关文件合法有效。

发布求购信息