当前位置: 首页 > 知识产权交易 > 专利转让 >

待交易一种三态组合灭弧装置及灭弧方法

专利号:CN202210402700.8 已授权

申请日:2022-11-29发布日期:2022-11-29

立即收藏 立即询价 转让价格:询价

专利摘要

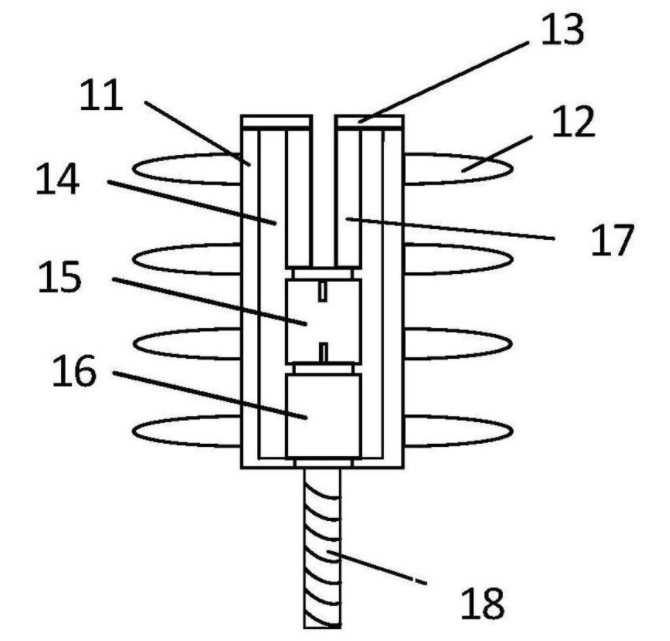
本发明提供一种三态组合灭弧装置及灭弧方法,属于防雷灭弧技术领域,包括绝缘管套、裙边、引弧盖体、液体阀片、氧化锌阀片、反冲管和螺杆,裙边设置在绝缘管套的外侧,反冲管设置在在液体阀片的上端,氧化锌阀片设置在液体阀片的底端,绝缘管套包裹设置在液体阀片、氧化锌阀片和反冲管的外端,螺杆设置在绝缘管套的底端,反冲管的顶端露出绝缘管套的顶端,引弧盖体盖合在反冲管和绝缘管套的顶端。本发明形成对冲击电流衰减的三道防线,成对电压分压的三道防线,降低每一级的重燃电压,体和气体介质提升了截断电弧的能力,平缓了电流陡度,提高阀片通流面积和通流极限容量,介质和气体介质替代了原有的导电金属,更加安全清洁,能有效减少碳排放。

交易流程

  • 平台资深顾问将根据买家的需求,提供一对一服务,协助买家挑选到合适的专利。

  • 待买家确认无误后,根据顾问指导进行下单,并签订协议与合同,买家需要支付50%交易款给平台。

  • 平台将负责办理官方变更手续,向国知局提交转让材料。

  • 约10个工作日左右,待买家确认收到专利《变更手续合格通知书》后,向平台支付剩余交易款。

  • 转让成功后,平台会将专利证书原件、专利登记簿副本原件邮寄给买家,同时把交易尾款支付给卖家,保障双方交易顺利。

过户资料

主体资格 转让方提供 受让方提供 平台提供 转让完成,可获得
自然人 身份证复印件,专利证书原件; 身份证复印件
有效个体营业执照
转让申请书
代理委托书
转让协议书
发明人变更声明
专利证书
手续合格通知书
专利登记簿副本
公司 有效的企业营业执照副本复印件,专利证书原件 有效的企业营业执照副本复印件;企业组织机构代码证
平台专属代理事务所将对委托交易全程监督,确保所有交易合同及相关文件合法有效。

发布求购信息