当前位置: 首页 > 知识产权交易 > 专利转让 >

待交易一种多间隙液电效应灭弧装置及灭弧方法

专利号:CN202210417656.8 已授权

申请日:2022-11-29发布日期:2022-11-29

立即收藏 立即询价 转让价格:询价

专利摘要

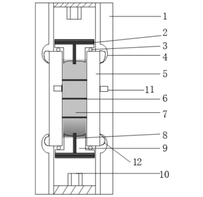
本发明提供一种多间隙液电效应灭弧装置及灭弧方法,属于防雷灭弧技术领域,装置包括塑胶套、金属垫结构、金属套、绝缘管、间隙电极、液体介质、导电极和硅胶,金属垫结构设置在绝缘管的两端,导电极的一端与金属垫结构连接,导电极伸入绝缘管内,金属套套设在绝缘管的两端。本发明每个间隙层都是均匀电场,击穿场强高,可以减少灭弧绝缘管长度,每个间隙层都有液电效应,灭弧能力强,工频电压重燃的条件是要击穿上述全部间隙的每个均匀电场进行,击穿电压高很难重燃,板之间均匀电场伏秒特性平缓,容易和电气设备实现绝缘配合,短电弧收到冷阴极影响,电弧温度低和直径小,电弧脆弱容易遮断,短电弧携带的能量少。

交易流程

  • 平台资深顾问将根据买家的需求,提供一对一服务,协助买家挑选到合适的专利。

  • 待买家确认无误后,根据顾问指导进行下单,并签订协议与合同,买家需要支付50%交易款给平台。

  • 平台将负责办理官方变更手续,向国知局提交转让材料。

  • 约10个工作日左右,待买家确认收到专利《变更手续合格通知书》后,向平台支付剩余交易款。

  • 转让成功后,平台会将专利证书原件、专利登记簿副本原件邮寄给买家,同时把交易尾款支付给卖家,保障双方交易顺利。

过户资料

主体资格 转让方提供 受让方提供 平台提供 转让完成,可获得
自然人 身份证复印件,专利证书原件; 身份证复印件
有效个体营业执照
转让申请书
代理委托书
转让协议书
发明人变更声明
专利证书
手续合格通知书
专利登记簿副本
公司 有效的企业营业执照副本复印件,专利证书原件 有效的企业营业执照副本复印件;企业组织机构代码证
平台专属代理事务所将对委托交易全程监督,确保所有交易合同及相关文件合法有效。

发布求购信息