当前位置: 首页 > 知识产权交易 > 专利转让 >

待交易一种装修工人用便携式饭盒

专利号:CN202220895649.4 已授权

申请日:2022-11-29发布日期:2022-11-29

立即收藏 立即询价 转让价格:询价

专利摘要

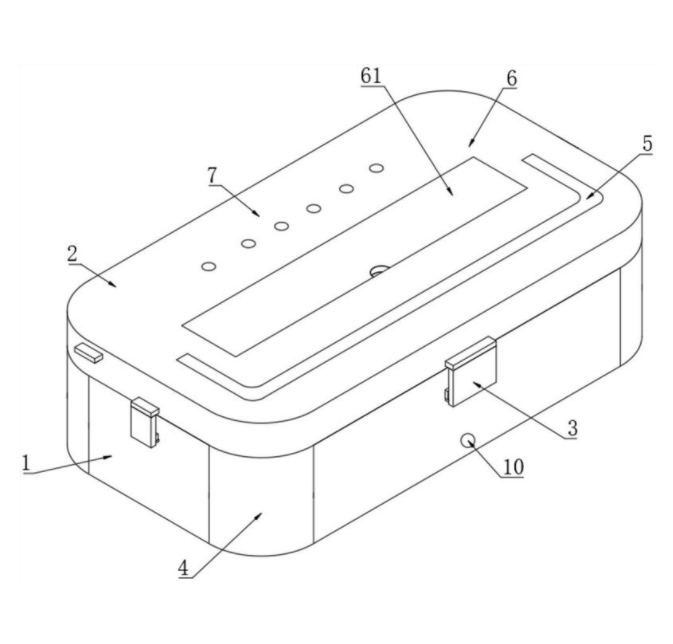
本实用新型公开了一种装修工人用便携式饭盒,涉及便携饭盒技术领域,包括盒体,盒体内部设置有餐盒,餐盒的内部通过隔板被分隔成若干个空间,盒体通过卡扣卡设有与之向匹配的盒盖,盒盖的顶部开设有若干透气孔,盒体的盒壁开设有储水腔,盒体内设置有加热机构和清洁机构;清洁机构包括开设在盒体上的进水口,盒体的外壁底部固定开设有出水口。其好处在于,通过设置清洁机构,通过盒体的盒壁中开设的储水槽,盒体上开设有进水口和出水口且进水口与出水口均有与之相匹配的堵块,将水从水口灌入储水槽中,然后在使用时,将出水口上的堵块拿出,储水腔中的水会通过出水口流出,可以对装修师傅的手掌进行清洁的作用。

交易流程

  • 平台资深顾问将根据买家的需求,提供一对一服务,协助买家挑选到合适的专利。

  • 待买家确认无误后,根据顾问指导进行下单,并签订协议与合同,买家需要支付50%交易款给平台。

  • 平台将负责办理官方变更手续,向国知局提交转让材料。

  • 约10个工作日左右,待买家确认收到专利《变更手续合格通知书》后,向平台支付剩余交易款。

  • 转让成功后,平台会将专利证书原件、专利登记簿副本原件邮寄给买家,同时把交易尾款支付给卖家,保障双方交易顺利。

过户资料

主体资格 转让方提供 受让方提供 平台提供 转让完成,可获得
自然人 身份证复印件,专利证书原件; 身份证复印件
有效个体营业执照
转让申请书
代理委托书
转让协议书
发明人变更声明
专利证书
手续合格通知书
专利登记簿副本
公司 有效的企业营业执照副本复印件,专利证书原件 有效的企业营业执照副本复印件;企业组织机构代码证
平台专属代理事务所将对委托交易全程监督,确保所有交易合同及相关文件合法有效。

发布求购信息