当前位置: 首页 > 知识产权交易 > 专利转让 >

待交易一种液态肥半成品研磨系统

专利号:CN202121277079.4 已授权

申请日:2022-11-29发布日期:2022-11-29

立即收藏 立即询价 转让价格:询价

专利摘要

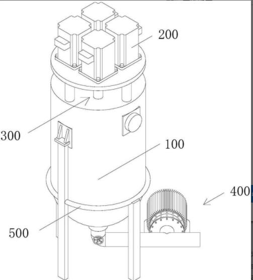
本实用新型公开了,涉及液态肥生产技术领域。本实用新型包括研磨仓、动力电机、研磨装置、排料装置和固定支架,研磨仓上方固定连接有四台动力电机,每台动力电机下方固定连接有一个研磨装置,研磨仓底部固定连接有排料装置,研磨仓外部固定连接有固定支架。本实用新型通过设置研磨仓、支架连接块、动力电机、电机转轴、研磨装置、研磨转轴、研磨刀片、固定支架、第一支架腿和第二支架腿,解决了现有的液态肥半成品研磨系统对液态肥半成品研磨强度不够,不能够进行充分的研磨,导致其效率较低;液态肥半成品研磨系统稳定性不强,不能保证装置的稳定工作,给工作带来很大的安全隐患的问题。

交易流程

  • 平台资深顾问将根据买家的需求,提供一对一服务,协助买家挑选到合适的专利。

  • 待买家确认无误后,根据顾问指导进行下单,并签订协议与合同,买家需要支付50%交易款给平台。

  • 平台将负责办理官方变更手续,向国知局提交转让材料。

  • 约10个工作日左右,待买家确认收到专利《变更手续合格通知书》后,向平台支付剩余交易款。

  • 转让成功后,平台会将专利证书原件、专利登记簿副本原件邮寄给买家,同时把交易尾款支付给卖家,保障双方交易顺利。

过户资料

主体资格 转让方提供 受让方提供 平台提供 转让完成,可获得
自然人 身份证复印件,专利证书原件; 身份证复印件
有效个体营业执照
转让申请书
代理委托书
转让协议书
发明人变更声明
专利证书
手续合格通知书
专利登记簿副本
公司 有效的企业营业执照副本复印件,专利证书原件 有效的企业营业执照副本复印件;企业组织机构代码证
平台专属代理事务所将对委托交易全程监督,确保所有交易合同及相关文件合法有效。

发布求购信息