当前位置: 首页 > 知识产权交易 > 专利转让 >

待交易一种具有灭菌功能食品发酵的恒温恒湿组件

专利号:CN202220178321.0 已授权

申请日:2022-11-29发布日期:2022-11-29

立即收藏 立即询价 转让价格:询价

专利摘要

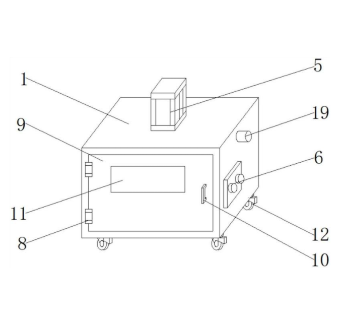
本实用新型公开了一种具有灭菌功能食品发酵的恒温恒湿组件,包括箱体,所述箱体的内部设置有搅拌组件,所述箱体的一侧表面固定安装有控制开关,所述箱体的内部顶端固定安装有消毒灯,所述箱体的底部四个边角处固定安装有万向轮,所述箱体的后侧内壁设置有加湿组件。该一种具有灭菌功能食品发酵的恒温恒湿组件,在进行日常使用的过程中,通过温度传感器和湿度传感器时刻监测箱体内部的温湿度变化,控制加热管和是否导入冷气或湿气,以保持箱体的内部恒温恒湿,通过箱体的顶部固定安装消毒灯,对食品进行灭菌处理,避免了食品发酵过程中污染上细菌等有害物质,提高了食品的存放时间和安全性。

交易流程

  • 平台资深顾问将根据买家的需求,提供一对一服务,协助买家挑选到合适的专利。

  • 待买家确认无误后,根据顾问指导进行下单,并签订协议与合同,买家需要支付50%交易款给平台。

  • 平台将负责办理官方变更手续,向国知局提交转让材料。

  • 约10个工作日左右,待买家确认收到专利《变更手续合格通知书》后,向平台支付剩余交易款。

  • 转让成功后,平台会将专利证书原件、专利登记簿副本原件邮寄给买家,同时把交易尾款支付给卖家,保障双方交易顺利。

过户资料

主体资格 转让方提供 受让方提供 平台提供 转让完成,可获得
自然人 身份证复印件,专利证书原件; 身份证复印件
有效个体营业执照
转让申请书
代理委托书
转让协议书
发明人变更声明
专利证书
手续合格通知书
专利登记簿副本
公司 有效的企业营业执照副本复印件,专利证书原件 有效的企业营业执照副本复印件;企业组织机构代码证
平台专属代理事务所将对委托交易全程监督,确保所有交易合同及相关文件合法有效。

发布求购信息