当前位置: 首页 > 知识产权交易 > 专利转让 >

待交易一种可调式洗砂装置

专利号:CN202220851822.0 已授权

申请日:2022-11-28发布日期:2022-11-28

立即收藏 立即询价 转让价格:询价

专利摘要

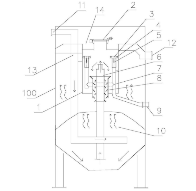
本实用新型公开了一种可调式洗砂装置,所述洗砂装置包括洗砂壳体、洗砂槽、水位调节器、提砂管和洗砂器,在接近洗砂壳体的顶部中心区域悬挂焊接设置有封闭的洗砂槽,在洗砂壳体内且位于洗砂槽的底部下方设置有砂滤层,在洗砂槽的中心区域贯穿设置有洗砂器,所述提砂管贯穿于洗砂器内,并且提砂管的上端从洗砂器上端向外伸出至洗砂槽的槽口下方,在洗砂槽内且位于提砂管的外围设置有一个或多个排渣管,每个排渣管的上端入口分别连接一个水位调节器,在洗砂槽底部与洗砂壳体的外部之间连接有洗砂水出水管,每个排渣管的下端出口分别连接在洗砂槽底部的洗砂水出水管的入口端。本实用新型有效提升了污砂的清洗效果,实现反冲洗水的冲洗强度。

交易流程

  • 平台资深顾问将根据买家的需求,提供一对一服务,协助买家挑选到合适的专利。

  • 待买家确认无误后,根据顾问指导进行下单,并签订协议与合同,买家需要支付50%交易款给平台。

  • 平台将负责办理官方变更手续,向国知局提交转让材料。

  • 约10个工作日左右,待买家确认收到专利《变更手续合格通知书》后,向平台支付剩余交易款。

  • 转让成功后,平台会将专利证书原件、专利登记簿副本原件邮寄给买家,同时把交易尾款支付给卖家,保障双方交易顺利。

过户资料

主体资格 转让方提供 受让方提供 平台提供 转让完成,可获得
自然人 身份证复印件,专利证书原件; 身份证复印件
有效个体营业执照
转让申请书
代理委托书
转让协议书
发明人变更声明
专利证书
手续合格通知书
专利登记簿副本
公司 有效的企业营业执照副本复印件,专利证书原件 有效的企业营业执照副本复印件;企业组织机构代码证
平台专属代理事务所将对委托交易全程监督,确保所有交易合同及相关文件合法有效。

发布求购信息