当前位置: 首页 > 知识产权交易 > 专利转让 >

待交易一种电缆缆芯绕包装置

专利号:CN202220799206.5 已授权

申请日:2022-11-28发布日期:2022-11-28

立即收藏 立即询价 转让价格:询价

专利摘要

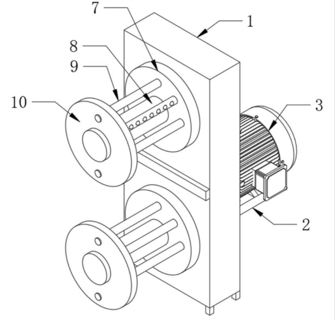
本实用新型涉及电缆技术领域的一种电缆缆芯绕包装置,包括安装板和支撑板,所述安装板的一侧固定连接有所述支撑板,所述安装板的一侧设有两个连接板,所述连接板远离安装板的一侧固定有固定杆,所述固定杆的四周分布有环形状与连接板固定连接的连接杆,所述固定杆的一侧设有挡板,所述固定杆与所述连接杆固定连接有位于挡板内插设的固定板,所述挡板开设有两个呈对称设置的螺纹槽,所述螺纹槽内螺纹连接有限位螺丝。当电缆加工完成时,可通过旋动限位螺丝从螺纹槽内取出,此时限位螺丝将取消对挡板与固定板的限位,随后可手持挡板取消对固定板的套设,此时可手持电缆取下,实现了便于拆装的效果,有利于提高了工作效率。

交易流程

  • 平台资深顾问将根据买家的需求,提供一对一服务,协助买家挑选到合适的专利。

  • 待买家确认无误后,根据顾问指导进行下单,并签订协议与合同,买家需要支付50%交易款给平台。

  • 平台将负责办理官方变更手续,向国知局提交转让材料。

  • 约10个工作日左右,待买家确认收到专利《变更手续合格通知书》后,向平台支付剩余交易款。

  • 转让成功后,平台会将专利证书原件、专利登记簿副本原件邮寄给买家,同时把交易尾款支付给卖家,保障双方交易顺利。

过户资料

主体资格 转让方提供 受让方提供 平台提供 转让完成,可获得
自然人 身份证复印件,专利证书原件; 身份证复印件
有效个体营业执照
转让申请书
代理委托书
转让协议书
发明人变更声明
专利证书
手续合格通知书
专利登记簿副本
公司 有效的企业营业执照副本复印件,专利证书原件 有效的企业营业执照副本复印件;企业组织机构代码证
平台专属代理事务所将对委托交易全程监督,确保所有交易合同及相关文件合法有效。

发布求购信息