当前位置: 首页 > 知识产权交易 > 专利转让 >

待交易一种绝缘电缆料护套挤出的上料系统

专利号:CN202220895646.0 已授权

申请日:2022-11-28发布日期:2022-11-28

立即收藏 立即询价 转让价格:询价

专利摘要

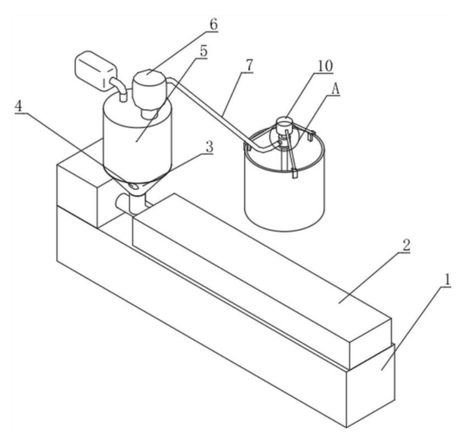
本实用新型公开了一种绝缘电缆料护套挤出的上料系统,涉及绝缘电缆料技术领域,包括底座,底座上表面右侧固定连接有挤出机,挤出机左侧固定连接有料斗,料斗表面前端固定连接有清料阀口,料斗上表面通过轴转动连接有料筒,料筒上表面固定连接有吸风机,吸风机表面后端固定连接有上料管,上料管后端滑动连接有上料组件,通过动力单元带动上料单元进行转动使得,上料单元的吸管在储存结构内部慢速转动,使得吸管吸取原料范围更广泛,上料效率更高,通过电机带动转轴转动,通过转轴带动连接轴转动,通过连接轴带动固定轴转动,通过固定轴带动吸管进行转动,使得上料组件吸收料的范围更广,上料效率更高,固定轴与吸管之间螺纹连接方便拆卸清理。

交易流程

  • 平台资深顾问将根据买家的需求,提供一对一服务,协助买家挑选到合适的专利。

  • 待买家确认无误后,根据顾问指导进行下单,并签订协议与合同,买家需要支付50%交易款给平台。

  • 平台将负责办理官方变更手续,向国知局提交转让材料。

  • 约10个工作日左右,待买家确认收到专利《变更手续合格通知书》后,向平台支付剩余交易款。

  • 转让成功后,平台会将专利证书原件、专利登记簿副本原件邮寄给买家,同时把交易尾款支付给卖家,保障双方交易顺利。

过户资料

主体资格 转让方提供 受让方提供 平台提供 转让完成,可获得
自然人 身份证复印件,专利证书原件; 身份证复印件
有效个体营业执照
转让申请书
代理委托书
转让协议书
发明人变更声明
专利证书
手续合格通知书
专利登记簿副本
公司 有效的企业营业执照副本复印件,专利证书原件 有效的企业营业执照副本复印件;企业组织机构代码证
平台专属代理事务所将对委托交易全程监督,确保所有交易合同及相关文件合法有效。

发布求购信息