当前位置: 首页 > 知识产权交易 > 专利转让 >

待交易一种植物源生物农药生产用自动供料装置

专利号:CN202220864125.9 已授权

申请日:2022-11-25发布日期:2022-11-25

立即收藏 立即询价 转让价格:询价

专利摘要

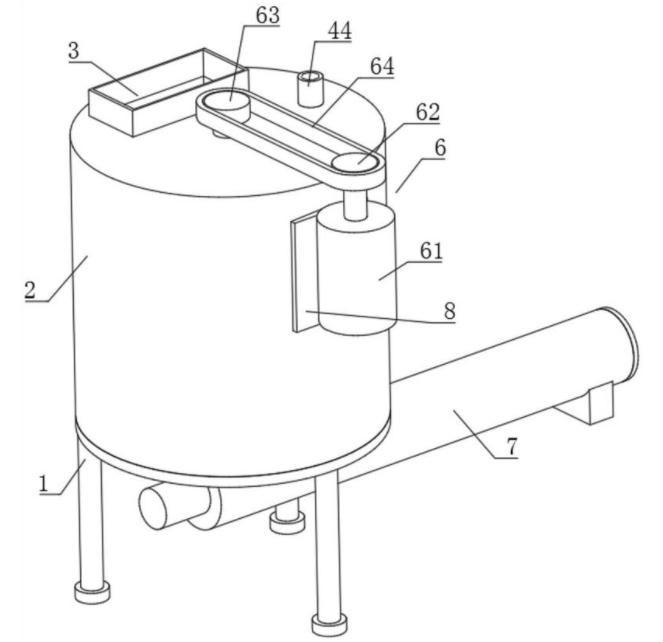
本实用新型公开了一种植物源生物农药生产用自动供料装置,涉及生物农药技术领域,包括支架,支架顶部固定连接有储料桶,储料桶内设有用于清理筒壁的清理机构,清理机构包括转动杆、连接杆、刮板和进水口,转动杆位于储料桶内部,且转动杆通过轴承与储料桶转动连接,转动杆从上至下设有多个连接杆,连接杆一端与转动杆固定连接,连接杆另一端与刮板固定连接,储料桶顶部设有进水口,储料桶内壁固定连接有多个喷头;储料桶外部设有用于驱动转动杆旋转的驱动组件,通过驱动组件带动转动杆旋转,进而带动刮板在储料桶内壁上转动,配合进水口将外部的高压水从喷头喷向储料桶内壁,可以将储料桶内壁上的原料残留物刮除,可以将储料桶内清理干净。

交易流程

  • 平台资深顾问将根据买家的需求,提供一对一服务,协助买家挑选到合适的专利。

  • 待买家确认无误后,根据顾问指导进行下单,并签订协议与合同,买家需要支付50%交易款给平台。

  • 平台将负责办理官方变更手续,向国知局提交转让材料。

  • 约10个工作日左右,待买家确认收到专利《变更手续合格通知书》后,向平台支付剩余交易款。

  • 转让成功后,平台会将专利证书原件、专利登记簿副本原件邮寄给买家,同时把交易尾款支付给卖家,保障双方交易顺利。

过户资料

主体资格 转让方提供 受让方提供 平台提供 转让完成,可获得
自然人 身份证复印件,专利证书原件; 身份证复印件
有效个体营业执照
转让申请书
代理委托书
转让协议书
发明人变更声明
专利证书
手续合格通知书
专利登记簿副本
公司 有效的企业营业执照副本复印件,专利证书原件 有效的企业营业执照副本复印件;企业组织机构代码证
平台专属代理事务所将对委托交易全程监督,确保所有交易合同及相关文件合法有效。

发布求购信息