当前位置: 首页 > 知识产权交易 > 专利转让 >

待交易一种汽车加工用污水过滤装置

专利号:CN202220077098.0 已授权

申请日:2022-11-25发布日期:2022-11-25

立即收藏 立即询价 转让价格:询价

专利摘要

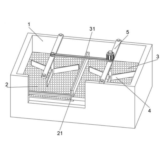
本实用新型涉及汽车加工领域,具体地说,涉及一种汽车加工用污水过滤装置。其包括箱体,箱体的内部设有上滤板,上滤板一侧安装有挡板,上滤板的内侧滑动有下滤板,下滤板的上方设有推板,推板与下滤板之间通过滑块连接,滑块位于上滤板上滑动,箱体的上方设有搅动件,搅动件的表面安装有固定板,固定板与箱体固定连接。通过下滤板沿着上滤板滑动,推板推动上滤板表面的污浊物,并清除至一侧,下滤板在滑动时,且下滤板上的污浊物被挡板推动清除至一侧,上滤板和下滤板的污浊物同步处理,利于污浊物移出,达到便捷的清理上滤板和下滤板上的污浊物。

交易流程

  • 平台资深顾问将根据买家的需求,提供一对一服务,协助买家挑选到合适的专利。

  • 待买家确认无误后,根据顾问指导进行下单,并签订协议与合同,买家需要支付50%交易款给平台。

  • 平台将负责办理官方变更手续,向国知局提交转让材料。

  • 约10个工作日左右,待买家确认收到专利《变更手续合格通知书》后,向平台支付剩余交易款。

  • 转让成功后,平台会将专利证书原件、专利登记簿副本原件邮寄给买家,同时把交易尾款支付给卖家,保障双方交易顺利。

过户资料

主体资格 转让方提供 受让方提供 平台提供 转让完成,可获得
自然人 身份证复印件,专利证书原件; 身份证复印件
有效个体营业执照
转让申请书
代理委托书
转让协议书
发明人变更声明
专利证书
手续合格通知书
专利登记簿副本
公司 有效的企业营业执照副本复印件,专利证书原件 有效的企业营业执照副本复印件;企业组织机构代码证
平台专属代理事务所将对委托交易全程监督,确保所有交易合同及相关文件合法有效。

发布求购信息