当前位置: 首页 > 知识产权交易 > 专利转让 >

待交易一种施工升降机伸缩式护缆框

专利号:CN202221097892.8 已授权

申请日:2022-11-25发布日期:2022-11-25

立即收藏 立即询价 转让价格:询价

专利摘要

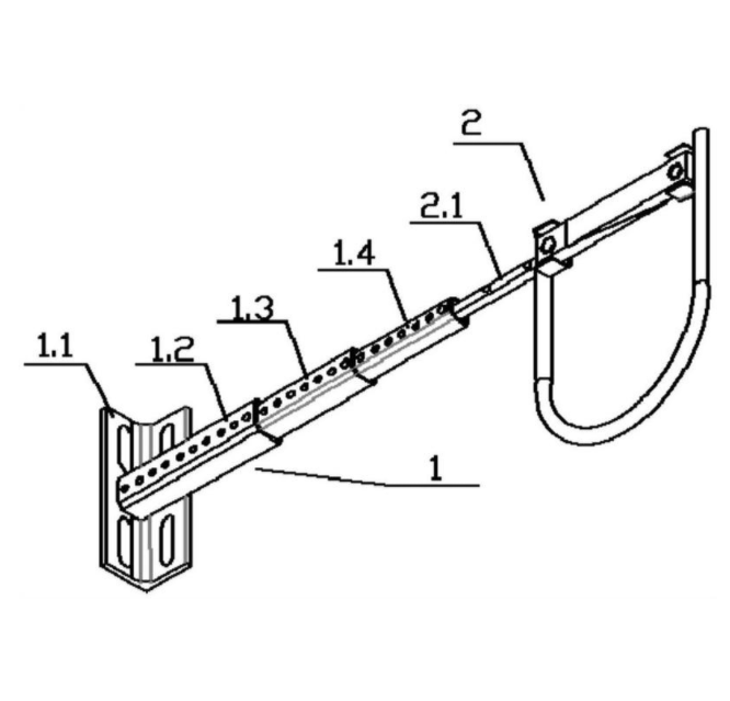
本实用新型提供一种施工升降机伸缩式护缆框,属于建筑机械设备领域,包括伸缩杆、护缆圈,伸缩杆与护缆圈固定连接,伸缩杆包括固定座、收纳杆、第一伸长杆和第二伸长杆,固定座设置在收纳杆的一端,第一伸长杆嵌合在收纳杆的内部,第二伸长杆嵌合在第一伸长杆的内部,护缆圈包括支撑杆、U型管、橡胶条和U型板,支撑杆的一端与U型管一端的侧壁固定连接,支撑杆的另一端嵌合在第二伸长杆的内部,U型管两端的内侧壁分别与U型板固定连接,橡胶条与U型板固定连接。本实用新型可根据实际需要灵活、合理地调节护缆框,结构简单,拆装方便,可适应复杂多变的安装环境,进行优化管理,减少存放成本,提高使用价值,可广泛实用。

交易流程

  • 平台资深顾问将根据买家的需求,提供一对一服务,协助买家挑选到合适的专利。

  • 待买家确认无误后,根据顾问指导进行下单,并签订协议与合同,买家需要支付50%交易款给平台。

  • 平台将负责办理官方变更手续,向国知局提交转让材料。

  • 约10个工作日左右,待买家确认收到专利《变更手续合格通知书》后,向平台支付剩余交易款。

  • 转让成功后,平台会将专利证书原件、专利登记簿副本原件邮寄给买家,同时把交易尾款支付给卖家,保障双方交易顺利。

过户资料

主体资格 转让方提供 受让方提供 平台提供 转让完成,可获得
自然人 身份证复印件,专利证书原件; 身份证复印件
有效个体营业执照
转让申请书
代理委托书
转让协议书
发明人变更声明
专利证书
手续合格通知书
专利登记簿副本
公司 有效的企业营业执照副本复印件,专利证书原件 有效的企业营业执照副本复印件;企业组织机构代码证
平台专属代理事务所将对委托交易全程监督,确保所有交易合同及相关文件合法有效。

发布求购信息