当前位置: 首页 > 知识产权交易 > 专利转让 >

待交易一种大直径桩自反力检测装置的位移测试系统及检测方法

专利号:CN202210192621.9 已授权

申请日:2022-11-25发布日期:2022-11-25

立即收藏 立即询价 转让价格:询价

专利摘要

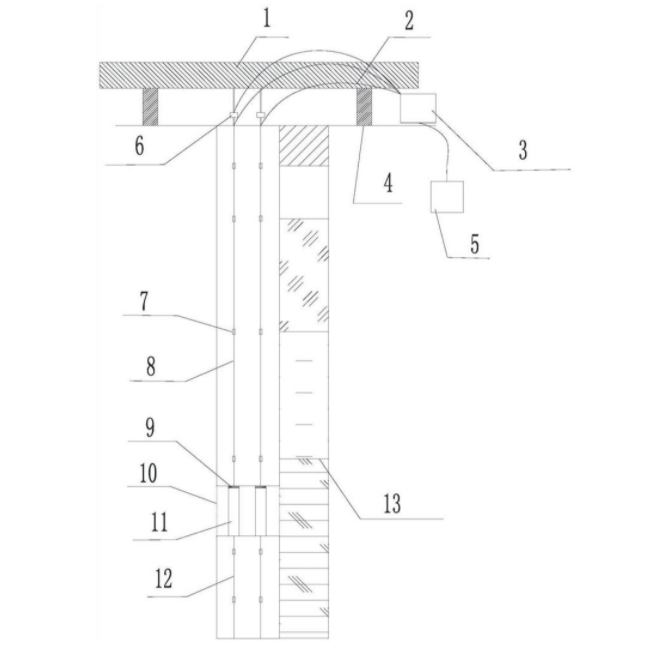
本发明提供一种大直径桩自反力检测装置的位移测试系统及检测方法,属于桩基工程施工领域,包括基准梁、基准柱、上钢筋笼、荷载箱和下钢筋笼,荷载箱设置在下钢筋笼上,上钢筋笼设置在荷载箱上,基准梁设置在上钢筋笼的顶端,且设置在地面上,基准柱设置在基准梁的的底部,还包括光缆、光纤光栅解调仪、数据接收端、若干个光纤光栅位移传感器、若干个光纤光栅传感器和若干个光纤光栅压力传感器,若干个光纤光栅传感器分别设置在上钢筋笼和下钢筋笼的侧边。测试系统可实时、准确测得桩体内力的分布情况,通过桩体内力变化推断荷载箱的位移情况,为建筑桩结构的内力分布和内力变化提供可靠的数据支撑,同时为了解和掌握结构的健康状况提供可靠依据。

交易流程

  • 平台资深顾问将根据买家的需求,提供一对一服务,协助买家挑选到合适的专利。

  • 待买家确认无误后,根据顾问指导进行下单,并签订协议与合同,买家需要支付50%交易款给平台。

  • 平台将负责办理官方变更手续,向国知局提交转让材料。

  • 约10个工作日左右,待买家确认收到专利《变更手续合格通知书》后,向平台支付剩余交易款。

  • 转让成功后,平台会将专利证书原件、专利登记簿副本原件邮寄给买家,同时把交易尾款支付给卖家,保障双方交易顺利。

过户资料

主体资格 转让方提供 受让方提供 平台提供 转让完成,可获得
自然人 身份证复印件,专利证书原件; 身份证复印件
有效个体营业执照
转让申请书
代理委托书
转让协议书
发明人变更声明
专利证书
手续合格通知书
专利登记簿副本
公司 有效的企业营业执照副本复印件,专利证书原件 有效的企业营业执照副本复印件;企业组织机构代码证
平台专属代理事务所将对委托交易全程监督,确保所有交易合同及相关文件合法有效。

发布求购信息