当前位置: 首页 > 知识产权交易 > 专利转让 >

待交易一种工业闪蒸汽加温升压高效回收循环系统及回收方法

专利号:CN202210182769.4 已授权

申请日:2022-11-25发布日期:2022-11-25

立即收藏 立即询价 转让价格:询价

专利摘要

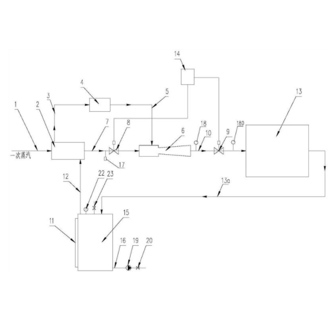
本发明公开了一种工业闪蒸汽加温升压高效回收循环系统及回收方法,以高温蒸汽为热源的用能设备、连接于用能设备的蒸汽输入端口一侧的蒸汽加温升压控制单元和连接于用能设备的输出侧的第一闪汽罐;蒸汽加温升压控制单元包括换热器、蒸汽压缩器和蒸汽喷射式热泵,换热器的一次蒸汽输入端连接有一次高温蒸汽主管道,所述换热器的换热输出端与蒸汽喷射式热泵连通,所述换热器与蒸汽压缩器连通;所述蒸汽压缩器与蒸汽喷射式热泵连通,蒸汽喷射式热泵与用能设备连通,用能设备的冷凝输出端口与闪汽罐连通,闪汽罐与换热器连通,在蒸汽喷射式热泵内将一蒸汽、一次回收蒸汽和加热闪蒸汽进行混合喷射产生混合蒸,使闪蒸汽得到最大极限充分高效利用。

交易流程

  • 平台资深顾问将根据买家的需求,提供一对一服务,协助买家挑选到合适的专利。

  • 待买家确认无误后,根据顾问指导进行下单,并签订协议与合同,买家需要支付50%交易款给平台。

  • 平台将负责办理官方变更手续,向国知局提交转让材料。

  • 约10个工作日左右,待买家确认收到专利《变更手续合格通知书》后,向平台支付剩余交易款。

  • 转让成功后,平台会将专利证书原件、专利登记簿副本原件邮寄给买家,同时把交易尾款支付给卖家,保障双方交易顺利。

过户资料

主体资格 转让方提供 受让方提供 平台提供 转让完成,可获得
自然人 身份证复印件,专利证书原件; 身份证复印件
有效个体营业执照
转让申请书
代理委托书
转让协议书
发明人变更声明
专利证书
手续合格通知书
专利登记簿副本
公司 有效的企业营业执照副本复印件,专利证书原件 有效的企业营业执照副本复印件;企业组织机构代码证
平台专属代理事务所将对委托交易全程监督,确保所有交易合同及相关文件合法有效。

发布求购信息