当前位置: 首页 > 知识产权交易 > 专利转让 >

待交易一种海棠角快速组装工件

专利号:CN202220192030.7 已授权

申请日:2022-11-25发布日期:2022-11-25

立即收藏 立即询价 转让价格:询价

专利摘要

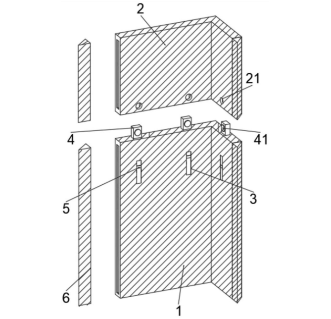
本实用新型涉及海棠角工件领域,具体地说,涉及一种海棠角快速组装工件。其包括下固定板,下固定板的一侧设有上固定板,下固定板的内侧预设有卡槽,卡槽的内部滑动有卡块,卡块的表面开设有缺口,缺口的内侧连接有凸块,上固定板的表面预设有凹口,卡槽的内壁预设有滑槽,滑槽为相对设置,卡块的侧面安装有滑块,滑块的表面设有挡板。通过凸块卡在凹口,挡板在滑槽的内侧限位,避免卡槽出现裸露,下固定板和上固定板卡在墙角处,且封闭裸露的卡槽也直接避免了工件受到异物的影响,摒弃了目前直接在阳角处理工件钻孔和焊接造成的影响,对家居生活环境中不同高度尺寸需求的阳角处理工件做出了改善。

交易流程

  • 平台资深顾问将根据买家的需求,提供一对一服务,协助买家挑选到合适的专利。

  • 待买家确认无误后,根据顾问指导进行下单,并签订协议与合同,买家需要支付50%交易款给平台。

  • 平台将负责办理官方变更手续,向国知局提交转让材料。

  • 约10个工作日左右,待买家确认收到专利《变更手续合格通知书》后,向平台支付剩余交易款。

  • 转让成功后,平台会将专利证书原件、专利登记簿副本原件邮寄给买家,同时把交易尾款支付给卖家,保障双方交易顺利。

过户资料

主体资格 转让方提供 受让方提供 平台提供 转让完成,可获得
自然人 身份证复印件,专利证书原件; 身份证复印件
有效个体营业执照
转让申请书
代理委托书
转让协议书
发明人变更声明
专利证书
手续合格通知书
专利登记簿副本
公司 有效的企业营业执照副本复印件,专利证书原件 有效的企业营业执照副本复印件;企业组织机构代码证
平台专属代理事务所将对委托交易全程监督,确保所有交易合同及相关文件合法有效。

发布求购信息