当前位置: 首页 > 知识产权交易 > 专利转让 >

待交易一种铝电解用拉杆式定容下料器稳定保护装置

专利号:CN202220384372.9 已授权

申请日:2022-11-25发布日期:2022-11-25

立即收藏 立即询价 转让价格:询价

专利摘要

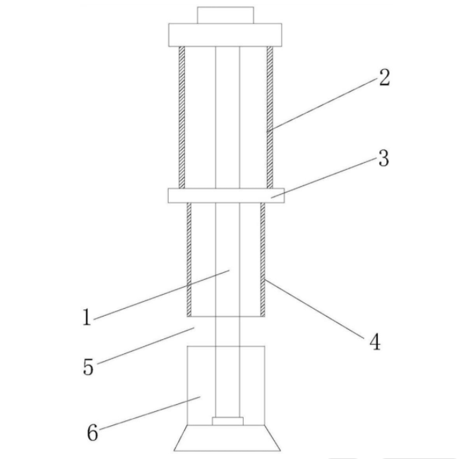
本实用新型公开了一种铝电解用拉杆式定容下料器稳定保护装置,包括拉杆式定容下料器本体、套筒及挡板,套筒套设在拉杆式定容下料器本体的上方,挡板设置在拉杆式定容下料器本体的下方;拉杆式定容下料器本体包括定容筒、拉杆、法兰,定容筒设置在定容下料器本体的下方,法兰设置在定容下料器本体的中部,拉杆的下端穿过法兰的中部与定容筒连通;套筒套设在法兰上方的拉杆外围,挡板围设在法兰下部的外侧,挡板与定容筒之间设置有进料口,进料口的高度为6?10cm。通过套筒及挡板的保护作用,使拉杆式定容下料器本体的拉杆不再全部裸露在料箱氧化铝中,氧化铝对拉杆的挤压摩擦阻力大大减小,定容杯中的料量稳定,达到精准平稳的效果。

交易流程

  • 平台资深顾问将根据买家的需求,提供一对一服务,协助买家挑选到合适的专利。

  • 待买家确认无误后,根据顾问指导进行下单,并签订协议与合同,买家需要支付50%交易款给平台。

  • 平台将负责办理官方变更手续,向国知局提交转让材料。

  • 约10个工作日左右,待买家确认收到专利《变更手续合格通知书》后,向平台支付剩余交易款。

  • 转让成功后,平台会将专利证书原件、专利登记簿副本原件邮寄给买家,同时把交易尾款支付给卖家,保障双方交易顺利。

过户资料

主体资格 转让方提供 受让方提供 平台提供 转让完成,可获得
自然人 身份证复印件,专利证书原件; 身份证复印件
有效个体营业执照
转让申请书
代理委托书
转让协议书
发明人变更声明
专利证书
手续合格通知书
专利登记簿副本
公司 有效的企业营业执照副本复印件,专利证书原件 有效的企业营业执照副本复印件;企业组织机构代码证
平台专属代理事务所将对委托交易全程监督,确保所有交易合同及相关文件合法有效。

发布求购信息