当前位置: 首页 > 知识产权交易 > 专利转让 >

待交易一种通风阀门外框手动折弯装置

专利号:CN202220340508.6 已授权

申请日:2022-11-25发布日期:2022-11-25

立即收藏 立即询价 转让价格:询价

专利摘要

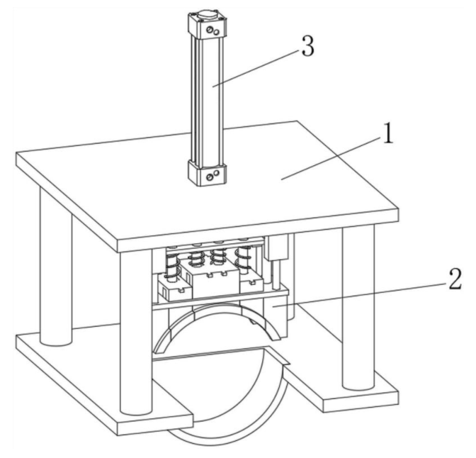
本实用新型涉及通风阀门外框生产技术领域,具体地说,涉及一种通风阀门外框手动折弯装置。其包括安装架和设置在安装架内部用于对外框进行按压的挤压装置,安装架包括上板和底板以及固定在上板、底板之间四角处的支撑柱,底板的中部位置安装有呈半圆形的模型块,模型块一侧的底板上开设有放板口,挤压装置包括主动装置以及设置在主动装置内部的中压架,中压架的两侧设置有侧架。本实用新型通过设置的中压块首先对板进行按压,在板被按压的过程中,主动块带动侧块对板的进行辅助定位,使板在被按压呈弧形的过程中,挤压装置对板进行分段式定位挤压,使不会出现板向外的蹦出的情况,提高装置使用的安全性。

交易流程

  • 平台资深顾问将根据买家的需求,提供一对一服务,协助买家挑选到合适的专利。

  • 待买家确认无误后,根据顾问指导进行下单,并签订协议与合同,买家需要支付50%交易款给平台。

  • 平台将负责办理官方变更手续,向国知局提交转让材料。

  • 约10个工作日左右,待买家确认收到专利《变更手续合格通知书》后,向平台支付剩余交易款。

  • 转让成功后,平台会将专利证书原件、专利登记簿副本原件邮寄给买家,同时把交易尾款支付给卖家,保障双方交易顺利。

过户资料

主体资格 转让方提供 受让方提供 平台提供 转让完成,可获得
自然人 身份证复印件,专利证书原件; 身份证复印件
有效个体营业执照
转让申请书
代理委托书
转让协议书
发明人变更声明
专利证书
手续合格通知书
专利登记簿副本
公司 有效的企业营业执照副本复印件,专利证书原件 有效的企业营业执照副本复印件;企业组织机构代码证
平台专属代理事务所将对委托交易全程监督,确保所有交易合同及相关文件合法有效。

发布求购信息