当前位置: 首页 > 知识产权交易 > 专利转让 >

待交易一种便于插管及防止尿道损伤的尿管

专利号:CN202220146977.4 已授权

申请日:2022-11-25发布日期:2022-11-25

立即收藏 立即询价 转让价格:询价

专利摘要

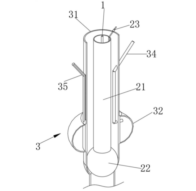
本实用新型涉及尿管插管技术领域,具体地说,涉及一种便于插管及防止尿道损伤的尿管。其包括双腔尿管,双腔尿管的内部设置有导丝套管,导丝套管的内部设置有导丝,导丝套管包括直管和固定在直管一端的气囊,气囊上连接有导气管,导丝设置在直管的内部,双腔尿管包括尿管,尿管的外侧壁上设置有水囊,水囊上连接有水囊管。本实用新型通过设置的导丝对导丝套管和双腔尿管进行引导,使导丝套管和双腔尿管在病人的尿道中移动,使降低尿管插入到尿道中的难度,同时在插入双腔尿管,尿道紧绷时,通过向药管中打入麻醉剂,让尿管松弛,使尿管顺利插入膀胱,提高前列腺增生患者插尿管的成功率。

交易流程

  • 平台资深顾问将根据买家的需求,提供一对一服务,协助买家挑选到合适的专利。

  • 待买家确认无误后,根据顾问指导进行下单,并签订协议与合同,买家需要支付50%交易款给平台。

  • 平台将负责办理官方变更手续,向国知局提交转让材料。

  • 约10个工作日左右,待买家确认收到专利《变更手续合格通知书》后,向平台支付剩余交易款。

  • 转让成功后,平台会将专利证书原件、专利登记簿副本原件邮寄给买家,同时把交易尾款支付给卖家,保障双方交易顺利。

过户资料

主体资格 转让方提供 受让方提供 平台提供 转让完成,可获得
自然人 身份证复印件,专利证书原件; 身份证复印件
有效个体营业执照
转让申请书
代理委托书
转让协议书
发明人变更声明
专利证书
手续合格通知书
专利登记簿副本
公司 有效的企业营业执照副本复印件,专利证书原件 有效的企业营业执照副本复印件;企业组织机构代码证
平台专属代理事务所将对委托交易全程监督,确保所有交易合同及相关文件合法有效。

发布求购信息