当前位置: 首页 > 知识产权交易 > 专利转让 >

待交易沥青路面薄层加铺的装置

专利号:CN202220957716.0 已授权

申请日:2022-11-24发布日期:2022-11-24

立即收藏 立即询价 转让价格:询价

专利摘要

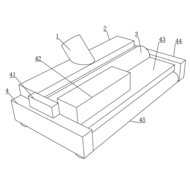
本实用新型公开了沥青路面薄层加铺的装置,涉及道路建设机械技术领域,包括用于安装在摊铺机牵引车出料侧的面层加铺机构,面层加铺机构包括横板,横板两侧设置有侧板,侧板上端面固定连接入料结构中的箱体,横板靠近入料结构的一侧设置有搅拌结构,搅拌结构包括圆筒壳体,对沥青混合料进行搅拌,将部分粘结的沥青混合料打散,同时加热板保证沥青混合料不会因为温度的影响导致搅拌时沥青混合料冷却,导致沥青混合料未能打散,第一倾斜板与传送带的空隙逐渐减小,在第一倾斜板与传送带的挤压下,沥青混合料缓慢向两侧滑动,使得沥青混合料更加均匀的进入搅拌结构,使得沥青混合料在搅拌时更加均匀

交易流程

  • 平台资深顾问将根据买家的需求,提供一对一服务,协助买家挑选到合适的专利。

  • 待买家确认无误后,根据顾问指导进行下单,并签订协议与合同,买家需要支付50%交易款给平台。

  • 平台将负责办理官方变更手续,向国知局提交转让材料。

  • 约10个工作日左右,待买家确认收到专利《变更手续合格通知书》后,向平台支付剩余交易款。

  • 转让成功后,平台会将专利证书原件、专利登记簿副本原件邮寄给买家,同时把交易尾款支付给卖家,保障双方交易顺利。

过户资料

主体资格 转让方提供 受让方提供 平台提供 转让完成,可获得
自然人 身份证复印件,专利证书原件; 身份证复印件
有效个体营业执照
转让申请书
代理委托书
转让协议书
发明人变更声明
专利证书
手续合格通知书
专利登记簿副本
公司 有效的企业营业执照副本复印件,专利证书原件 有效的企业营业执照副本复印件;企业组织机构代码证
平台专属代理事务所将对委托交易全程监督,确保所有交易合同及相关文件合法有效。

发布求购信息