当前位置: 首页 > 知识产权交易 > 专利转让 >

待交易滑槽式附着支座

专利号:CN202220285140.8 已授权

申请日:2022-11-24发布日期:2022-11-24

立即收藏 立即询价 转让价格:询价

专利摘要

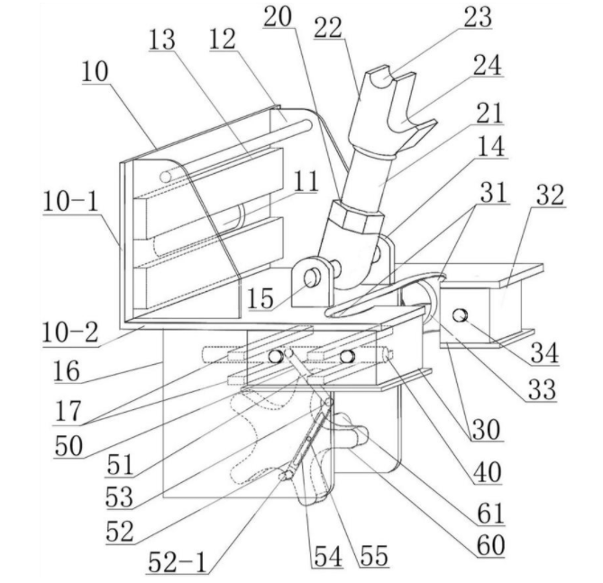
本实用新型涉及一种滑槽式附着支座,包括支座主体、抱轮滑槽组件和防坠连杆机构,支座主体包括垂直连接的支座竖板和支座横板,支座横板上端铰接有顶头调节组件,支座横板底端连接有两组对称的抱轮滑槽组件,两组抱轮滑槽组件相对的一侧均设置有导轨通孔,在抱轮滑槽组件下方设置有防坠连杆机构,防坠连杆机构包括防坠滑杆、曲柄连杆组件和防坠星轮,防坠滑杆与所述防坠星轮之间通过曲柄连杆组件传动连接,在防坠滑杆的上、下方滑动连接有滑杆支撑板,滑杆支撑板用以实现防坠滑杆的滑动和支撑结构。本实用新型通过设置防坠滑杆和防坠星轮传动配合实现防坠功能,防坠星轮不易发生故障,进一步提高了防坠效果。

交易流程

  • 平台资深顾问将根据买家的需求,提供一对一服务,协助买家挑选到合适的专利。

  • 待买家确认无误后,根据顾问指导进行下单,并签订协议与合同,买家需要支付50%交易款给平台。

  • 平台将负责办理官方变更手续,向国知局提交转让材料。

  • 约10个工作日左右,待买家确认收到专利《变更手续合格通知书》后,向平台支付剩余交易款。

  • 转让成功后,平台会将专利证书原件、专利登记簿副本原件邮寄给买家,同时把交易尾款支付给卖家,保障双方交易顺利。

过户资料

主体资格 转让方提供 受让方提供 平台提供 转让完成,可获得
自然人 身份证复印件,专利证书原件; 身份证复印件
有效个体营业执照
转让申请书
代理委托书
转让协议书
发明人变更声明
专利证书
手续合格通知书
专利登记簿副本
公司 有效的企业营业执照副本复印件,专利证书原件 有效的企业营业执照副本复印件;企业组织机构代码证
平台专属代理事务所将对委托交易全程监督,确保所有交易合同及相关文件合法有效。

发布求购信息