当前位置: 首页 > 知识产权交易 > 专利转让 >

待交易一种新型污水强化脱氮除磷装置

专利号:CN202220205654.8 已授权

申请日:2022-11-24发布日期:2022-11-24

立即收藏 立即询价 转让价格:询价

专利摘要

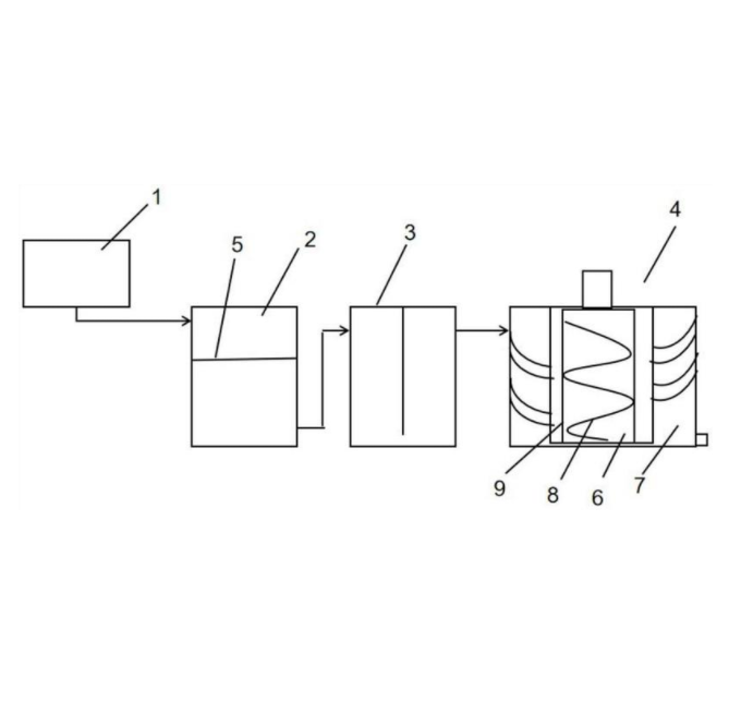
本实用新型公开了一种新型污水强化脱氮除磷装置,包括污水池、栅格井、生化一体化设备和生物滤床设备,所述污水池的底部连通栅格井的进水口,所述栅格井内设有栅格,该栅格井的出水口连通生化一体化设备的进水口,所述生化一体化设备的出水口连通生物滤床设备的进水口,该生物滤床设备的进水口设置在顶部靠近中心处,所述生物滤床设备包括旋转层和螺旋滤层,所述旋转层位于生物滤床设备的中心处且顶部设有电机,所述螺旋滤层为圆环状围绕在旋转层外,且该旋转层和螺旋滤层内均填满填料。本实用新型的装置能够充分利用填料,使污水与填料充分接触,将污水充分处理,且通过电机的旋转产生的离心力将污水加速向外流动,加速了污水处理的速度

交易流程

  • 平台资深顾问将根据买家的需求,提供一对一服务,协助买家挑选到合适的专利。

  • 待买家确认无误后,根据顾问指导进行下单,并签订协议与合同,买家需要支付50%交易款给平台。

  • 平台将负责办理官方变更手续,向国知局提交转让材料。

  • 约10个工作日左右,待买家确认收到专利《变更手续合格通知书》后,向平台支付剩余交易款。

  • 转让成功后,平台会将专利证书原件、专利登记簿副本原件邮寄给买家,同时把交易尾款支付给卖家,保障双方交易顺利。

过户资料

主体资格 转让方提供 受让方提供 平台提供 转让完成,可获得
自然人 身份证复印件,专利证书原件; 身份证复印件
有效个体营业执照
转让申请书
代理委托书
转让协议书
发明人变更声明
专利证书
手续合格通知书
专利登记簿副本
公司 有效的企业营业执照副本复印件,专利证书原件 有效的企业营业执照副本复印件;企业组织机构代码证
平台专属代理事务所将对委托交易全程监督,确保所有交易合同及相关文件合法有效。

发布求购信息