当前位置: 首页 > 知识产权交易 > 专利转让 >

待交易一种污水脱氮除磷填料及其制备方法

专利号:CN202210089594.2 已授权

申请日:2022-11-24发布日期:2022-11-24

立即收藏 立即询价 转让价格:询价

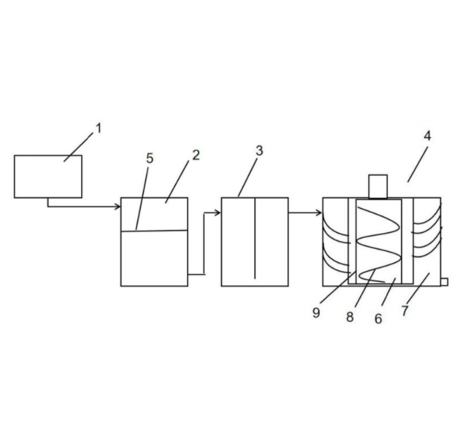
专利摘要

本发明公开了一种污水脱氮除磷填料,包括以下重量份数的原料:沸石5?10份、煤气化渣20?30份、粉煤灰25?35份、水泥20?30份、石灰3?5份、减水剂0.2?0.4份、水7?10份、发气剂0.1?0.3份。本发明制备的填料采用沸石、煤气化渣、粉煤灰、水泥、石灰和水等为主要原料,经养护工艺制成的多孔材料,可广泛用于人工湿地、生物滤床等水处理设施,生产成本低、污染物去除能力强、脱氮除磷效果好

交易流程

  • 平台资深顾问将根据买家的需求,提供一对一服务,协助买家挑选到合适的专利。

  • 待买家确认无误后,根据顾问指导进行下单,并签订协议与合同,买家需要支付50%交易款给平台。

  • 平台将负责办理官方变更手续,向国知局提交转让材料。

  • 约10个工作日左右,待买家确认收到专利《变更手续合格通知书》后,向平台支付剩余交易款。

  • 转让成功后,平台会将专利证书原件、专利登记簿副本原件邮寄给买家,同时把交易尾款支付给卖家,保障双方交易顺利。

过户资料

主体资格 转让方提供 受让方提供 平台提供 转让完成,可获得
自然人 身份证复印件,专利证书原件; 身份证复印件
有效个体营业执照
转让申请书
代理委托书
转让协议书
发明人变更声明
专利证书
手续合格通知书
专利登记簿副本
公司 有效的企业营业执照副本复印件,专利证书原件 有效的企业营业执照副本复印件;企业组织机构代码证
平台专属代理事务所将对委托交易全程监督,确保所有交易合同及相关文件合法有效。

发布求购信息