当前位置: 首页 > 知识产权交易 > 专利转让 >

待交易多功能吊点桁架

专利号:CN202220341422.5 已授权

申请日:2022-11-24发布日期:2022-11-24

立即收藏 立即询价 转让价格:询价

专利摘要

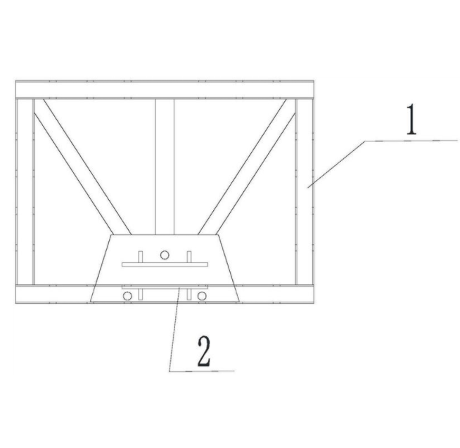
本实用新型提供多功能吊点桁架,属于吊点桁架技术领域,包括矩形框架和吊耳装置,吊耳装置可拆卸设置在矩形框架上,矩形框架上焊接固定有与吊耳装置相同大小的固定底座,固定底座设置在矩形框架侧边上,吊耳装置可拆卸设置在固定底座上。本实用新型具有结构紧凑,质量轻,功能强等特点,该吊点桁架旋转90度也能完美的充当纵向加强框使用,集上、下吊点桁架,左、右吊点桁架功能于一身,实现了产品的高度统型化,通过与水平桁架连接实现水平桁架功能,使架体受力够好,结构受力更合理

交易流程

  • 平台资深顾问将根据买家的需求,提供一对一服务,协助买家挑选到合适的专利。

  • 待买家确认无误后,根据顾问指导进行下单,并签订协议与合同,买家需要支付50%交易款给平台。

  • 平台将负责办理官方变更手续,向国知局提交转让材料。

  • 约10个工作日左右,待买家确认收到专利《变更手续合格通知书》后,向平台支付剩余交易款。

  • 转让成功后,平台会将专利证书原件、专利登记簿副本原件邮寄给买家,同时把交易尾款支付给卖家,保障双方交易顺利。

过户资料

主体资格 转让方提供 受让方提供 平台提供 转让完成,可获得
自然人 身份证复印件,专利证书原件; 身份证复印件
有效个体营业执照
转让申请书
代理委托书
转让协议书
发明人变更声明
专利证书
手续合格通知书
专利登记簿副本
公司 有效的企业营业执照副本复印件,专利证书原件 有效的企业营业执照副本复印件;企业组织机构代码证
平台专属代理事务所将对委托交易全程监督,确保所有交易合同及相关文件合法有效。

发布求购信息