当前位置: 首页 > 知识产权交易 > 专利转让 >

待交易一种环链斗式提升机下部超宽轮缘链轮组

专利号:CN202220341141.X 已授权

申请日:2022-11-24发布日期:2022-11-24

立即收藏 立即询价 转让价格:询价

专利摘要

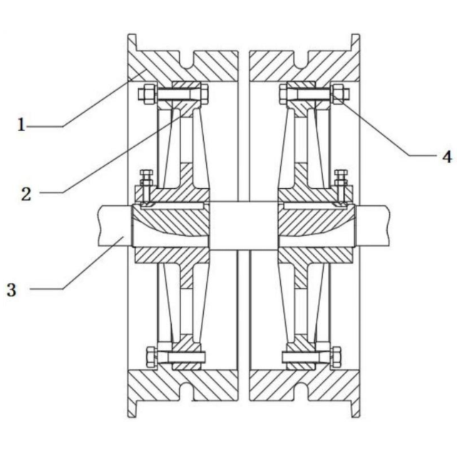
本实用新型公开了一种环链斗式提升机下部超宽轮缘链轮组,其特征在于:包括两个并列间距小于30mm的链轮,两个链轮的中心设有下部轴依次穿过链轮,链轮的表面设有超宽轮缘,该超宽轮缘与轮芯固定,所述超宽轮缘的表面中间处设有链槽。本实用新型提供能够防止脱链且易于安装维护的超宽轮缘链轮组,结构简单,即能解决脱链问题,又继承了传统窄轮缘安装维护方便的所有优点,打开下部检修门即可更换磨损的轮缘

交易流程

  • 平台资深顾问将根据买家的需求,提供一对一服务,协助买家挑选到合适的专利。

  • 待买家确认无误后,根据顾问指导进行下单,并签订协议与合同,买家需要支付50%交易款给平台。

  • 平台将负责办理官方变更手续,向国知局提交转让材料。

  • 约10个工作日左右,待买家确认收到专利《变更手续合格通知书》后,向平台支付剩余交易款。

  • 转让成功后,平台会将专利证书原件、专利登记簿副本原件邮寄给买家,同时把交易尾款支付给卖家,保障双方交易顺利。

过户资料

主体资格 转让方提供 受让方提供 平台提供 转让完成,可获得
自然人 身份证复印件,专利证书原件; 身份证复印件
有效个体营业执照
转让申请书
代理委托书
转让协议书
发明人变更声明
专利证书
手续合格通知书
专利登记簿副本
公司 有效的企业营业执照副本复印件,专利证书原件 有效的企业营业执照副本复印件;企业组织机构代码证
平台专属代理事务所将对委托交易全程监督,确保所有交易合同及相关文件合法有效。

发布求购信息