当前位置: 首页 > 知识产权交易 > 专利转让 >

待交易一种漏斗式三通分料阀

专利号:CN202220191688.6 已授权

申请日:2022-11-24发布日期:2022-11-24

立即收藏 立即询价 转让价格:询价

专利摘要

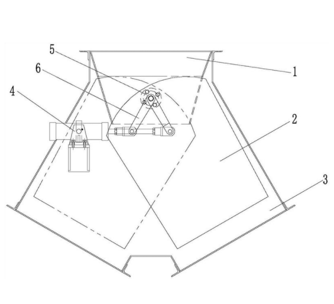
本实用新型公开了一种漏斗式三通分料阀,包括漏斗、摆动筒体、三通阀体、动力装置、轴承装置及摆杆,所述摆动筒体设置在漏斗的下方,所述三通阀体设置于所述漏斗及摆动筒体外侧,所述轴承装置设置于三通阀体的外侧,所述轴承装置的一端与所述摆动筒体连接,所述轴承装置的另一端与摆杆一端连接,所述摆杆的另一端与所述动力装置连接。本实用新型的漏斗式三通分料阀,通过动力装置、轴承装置、摆杆及摆动筒体的结构连接,在使用时,动力装置提供动力,电动推杆或气动推杆通过摆杆及轴承装置实现摆动筒体的摆动,通过摆动筒体的设置,确保物料不会与三通阀体卡碰,同时也避免阀体内积料,解决了传统板式三通分料阀存在串料、卡料的问题

交易流程

  • 平台资深顾问将根据买家的需求,提供一对一服务,协助买家挑选到合适的专利。

  • 待买家确认无误后,根据顾问指导进行下单,并签订协议与合同,买家需要支付50%交易款给平台。

  • 平台将负责办理官方变更手续,向国知局提交转让材料。

  • 约10个工作日左右,待买家确认收到专利《变更手续合格通知书》后,向平台支付剩余交易款。

  • 转让成功后,平台会将专利证书原件、专利登记簿副本原件邮寄给买家,同时把交易尾款支付给卖家,保障双方交易顺利。

过户资料

主体资格 转让方提供 受让方提供 平台提供 转让完成,可获得
自然人 身份证复印件,专利证书原件; 身份证复印件
有效个体营业执照
转让申请书
代理委托书
转让协议书
发明人变更声明
专利证书
手续合格通知书
专利登记簿副本
公司 有效的企业营业执照副本复印件,专利证书原件 有效的企业营业执照副本复印件;企业组织机构代码证
平台专属代理事务所将对委托交易全程监督,确保所有交易合同及相关文件合法有效。

发布求购信息