当前位置: 首页 > 知识产权交易 > 专利转让 >

待交易一种颗粒化微生物聚集体的高效筛选分离系统

专利号:CN202220177392.9 已授权

申请日:2022-11-23发布日期:2022-11-23

立即收藏 立即询价 转让价格:询价

专利摘要

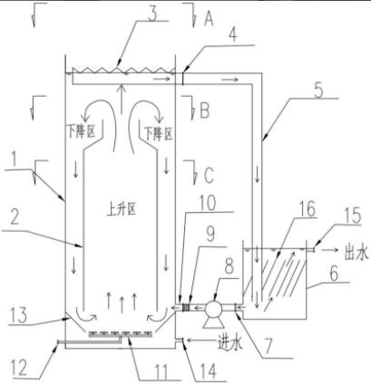
 本实用新型公开了,包括外壳、内罩壳、固液分离器和螺杆泵,所述内罩壳固定在外壳内部并与外壳内侧壁形成一定的空间,该内罩壳的上下两端开口,所述外壳内底部设有曝气装置,外壳顶部设有溢流堰,该溢流堰通过连通管连通固液分离器,所述固液分离器通过螺杆泵连通外壳内部,所述外壳上设有进水口。本实用新型可以解决颗粒化微生物聚集体内部空腔的问题,避免颗粒化微生物聚集体崩溃瓦解流失,进而维持整个系统的长期高负荷稳定运行。

交易流程

  • 平台资深顾问将根据买家的需求,提供一对一服务,协助买家挑选到合适的专利。

  • 待买家确认无误后,根据顾问指导进行下单,并签订协议与合同,买家需要支付50%交易款给平台。

  • 平台将负责办理官方变更手续,向国知局提交转让材料。

  • 约10个工作日左右,待买家确认收到专利《变更手续合格通知书》后,向平台支付剩余交易款。

  • 转让成功后,平台会将专利证书原件、专利登记簿副本原件邮寄给买家,同时把交易尾款支付给卖家,保障双方交易顺利。

过户资料

主体资格 转让方提供 受让方提供 平台提供 转让完成,可获得
自然人 身份证复印件,专利证书原件; 身份证复印件
有效个体营业执照
转让申请书
代理委托书
转让协议书
发明人变更声明
专利证书
手续合格通知书
专利登记簿副本
公司 有效的企业营业执照副本复印件,专利证书原件 有效的企业营业执照副本复印件;企业组织机构代码证
平台专属代理事务所将对委托交易全程监督,确保所有交易合同及相关文件合法有效。

发布求购信息