当前位置: 首页 > 知识产权交易 > 专利转让 >

待交易一种半自动妇科用移动护理床

专利号:2020108120789 已授权

申请日:2020-08-13发布日期:2022-08-05

立即收藏 立即询价 转让价格:询价

专利摘要

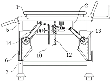
本发明涉及一种半自动妇科用移动护理床,包括护理床床板和上连接管,所述护理床床板的下端面上设置有连接管,所述上连接管活动插接在支撑槽内,支撑槽设置有四个;本发明中对现有妇科用护理床存在的不可移动,以及高度不可调节问题进行改进,改进后的妇科用护理床,具有移动功能,这样在医务人员对妇科用护理床进行移动时,就可以达到便捷移动和省时省力的效果;同时,改进后的妇科用护理床,高度可实现半自动调节,这样可通过改变妇科用护理床的高度,使得患者在使用时,更加的便利,因此发明中的妇科用护理床,能够符合当前人们对医疗设备的需求,从而具有更高的市场前景。

交易流程

  • 平台资深顾问将根据买家的需求,提供一对一服务,协助买家挑选到合适的专利。

  • 待买家确认无误后,根据顾问指导进行下单,并签订协议与合同,买家需要支付50%交易款给平台。

  • 平台将负责办理官方变更手续,向国知局提交转让材料。

  • 约10个工作日左右,待买家确认收到专利《变更手续合格通知书》后,向平台支付剩余交易款。

  • 转让成功后,平台会将专利证书原件、专利登记簿副本原件邮寄给买家,同时把交易尾款支付给卖家,保障双方交易顺利。

过户资料

主体资格 转让方提供 受让方提供 平台提供 转让完成,可获得
自然人 身份证复印件,专利证书原件; 身份证复印件
有效个体营业执照
转让申请书
代理委托书
转让协议书
发明人变更声明
专利证书
手续合格通知书
专利登记簿副本
公司 有效的企业营业执照副本复印件,专利证书原件 有效的企业营业执照副本复印件;企业组织机构代码证
平台专属代理事务所将对委托交易全程监督,确保所有交易合同及相关文件合法有效。

发布求购信息