当前位置: 首页 > 知识产权交易 > 专利转让 >

待交易一种消防用绿色环保机械泡沫快速制作装置

专利号:2016111569373 已授权

申请日:2016-12-15发布日期:2022-08-03

立即收藏 立即询价 转让价格:询价

专利摘要

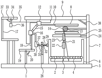
本发明涉及一种泡沫制作装置,尤其涉及一种消防用绿色环保机械泡沫快速制作装置。本发明要解决的技术问题是提供一种制作效率高、节约环保、操作简单的消防用绿色环保机械泡沫快速制作装置。为了解决上述技术问题,本发明提供了这样一种消防用绿色环保机械泡沫快速制作装置,包括有第一支杆、第一弹簧、转动板、底座、制作箱、第三支杆、第一齿条、顶板、第一移动杆、L型滑轨、第一滑块等;第一支杆上端铰接连接有转板,转板顶部右侧转动式连接有第二移动杆。本发明达到了制作效率高、节约环保、操作简单的效果,利用本装置可以快速、简单、便捷地制作出泡沫,且过程节能环保,同时大大的节省人力。

交易流程

  • 平台资深顾问将根据买家的需求,提供一对一服务,协助买家挑选到合适的专利。

  • 待买家确认无误后,根据顾问指导进行下单,并签订协议与合同,买家需要支付50%交易款给平台。

  • 平台将负责办理官方变更手续,向国知局提交转让材料。

  • 约10个工作日左右,待买家确认收到专利《变更手续合格通知书》后,向平台支付剩余交易款。

  • 转让成功后,平台会将专利证书原件、专利登记簿副本原件邮寄给买家,同时把交易尾款支付给卖家,保障双方交易顺利。

过户资料

主体资格 转让方提供 受让方提供 平台提供 转让完成,可获得
自然人 身份证复印件,专利证书原件; 身份证复印件
有效个体营业执照
转让申请书
代理委托书
转让协议书
发明人变更声明
专利证书
手续合格通知书
专利登记簿副本
公司 有效的企业营业执照副本复印件,专利证书原件 有效的企业营业执照副本复印件;企业组织机构代码证
平台专属代理事务所将对委托交易全程监督,确保所有交易合同及相关文件合法有效。

发布求购信息