当前位置: 首页 > 知识产权交易 > 专利转让 >

待交易一种出料装置及具有该出料装置的多彩环保涂料容纳装置

专利号:2020102862380 已授权

申请日:2020-04-13发布日期:2022-08-03

立即收藏 立即询价 转让价格:询价

专利摘要

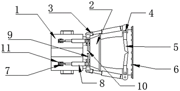
本发明适用于涂料生产技术领域,提供了一种出料装置及具有该出料装置的多彩环保涂料容纳装置,所述出料装置包括第一连通件、第二连通件、开合组件,以及用于驱动所述开合组件开闭所述第二连通件远离所述第一连通件一端开口的第一驱动机构,其中,所述开合组件包括对称设置的两个可转动的铰接件,所述铰接件一端对应设置有弯曲件。本发明通过两个对称设置的第一驱动机构带动对应的铰接件进行转动,进而带动弯曲件的转动,通过两个弯曲件实现开闭,可以减少开闭时对多彩环保涂料的水性彩色颗粒产生磨损、切碎、挤压变形,有效保证了产品的质量,解决了现有出料装置在用于多彩环保涂料输送时存在易破坏水性彩色颗粒形状的问题。

交易流程

  • 平台资深顾问将根据买家的需求,提供一对一服务,协助买家挑选到合适的专利。

  • 待买家确认无误后,根据顾问指导进行下单,并签订协议与合同,买家需要支付50%交易款给平台。

  • 平台将负责办理官方变更手续,向国知局提交转让材料。

  • 约10个工作日左右,待买家确认收到专利《变更手续合格通知书》后,向平台支付剩余交易款。

  • 转让成功后,平台会将专利证书原件、专利登记簿副本原件邮寄给买家,同时把交易尾款支付给卖家,保障双方交易顺利。

过户资料

主体资格 转让方提供 受让方提供 平台提供 转让完成,可获得
自然人 身份证复印件,专利证书原件; 身份证复印件
有效个体营业执照
转让申请书
代理委托书
转让协议书
发明人变更声明
专利证书
手续合格通知书
专利登记簿副本
公司 有效的企业营业执照副本复印件,专利证书原件 有效的企业营业执照副本复印件;企业组织机构代码证
平台专属代理事务所将对委托交易全程监督,确保所有交易合同及相关文件合法有效。

发布求购信息