当前位置: 首页 > 知识产权交易 > 专利转让 >

待交易一种间歇式环保型清洗装置

专利号:2019110005945 已授权

申请日:2019-10-21发布日期:2022-08-03

立即收藏 立即询价 转让价格:询价

专利摘要

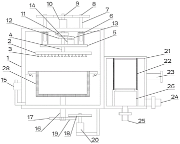
本发明公开了一种间歇式环保型清洗装置,涉及清洗设备技术领域;包括清洗主体和净化机构,清洗主体内部设置有间歇转动的清洗槽,清洗槽上端设置有转动设置的分水盘,喷头底部阵列设置喷头;清洗槽底部设置有B转轴,B转轴上安装有从动盘,从动盘上阵列设置有多个驱动槽;驱动杆固定安装在主动盘上,主动盘固定安装在D电机的输出端;D电机固定安装在清洗主体上;分水盘上端固定安装有A转轴,A转轴转动安装在可上下移动设置在清洗主体内部的的移动板上,且贯穿移动板上部设置,A转轴上端设置有驱动其转动的驱动机构,且A转轴还设置有旋转接头;旋转接头与净化机构连通。本发明显著提高了清洗效果和过滤效果。

交易流程

  • 平台资深顾问将根据买家的需求,提供一对一服务,协助买家挑选到合适的专利。

  • 待买家确认无误后,根据顾问指导进行下单,并签订协议与合同,买家需要支付50%交易款给平台。

  • 平台将负责办理官方变更手续,向国知局提交转让材料。

  • 约10个工作日左右,待买家确认收到专利《变更手续合格通知书》后,向平台支付剩余交易款。

  • 转让成功后,平台会将专利证书原件、专利登记簿副本原件邮寄给买家,同时把交易尾款支付给卖家,保障双方交易顺利。

过户资料

主体资格 转让方提供 受让方提供 平台提供 转让完成,可获得
自然人 身份证复印件,专利证书原件; 身份证复印件
有效个体营业执照
转让申请书
代理委托书
转让协议书
发明人变更声明
专利证书
手续合格通知书
专利登记簿副本
公司 有效的企业营业执照副本复印件,专利证书原件 有效的企业营业执照副本复印件;企业组织机构代码证
平台专属代理事务所将对委托交易全程监督,确保所有交易合同及相关文件合法有效。

发布求购信息