当前位置: 首页 > 知识产权交易 > 专利转让 >

待交易 一种园林绿化工程用灌溉装置

专利号:2020114565296 已授权

申请日:2020-12-10发布日期:2022-08-03

立即收藏 立即询价 转让价格:询价

专利摘要

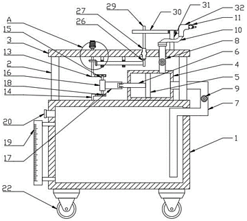
本发明公开了一种园林绿化工程用节水灌溉装置,包括水箱,所述水箱顶面四角均固定连接有支撑杆,所述支撑杆顶端固定连接有顶盖,所述水箱顶面右侧固定连接活塞管,所述活塞管右端中部固定连接有进水管,所述活塞管顶面右侧固定连接有出水管;通过电机驱动第一L形转杆转动,进而带动连接杆转动,进而带动套筒与驱动杆运动,从而拉动活塞杆左右往复运动,进而拉动活塞左右往复运动,通过两个单向阀的作用,当活塞向左运动时,活塞管内空间变大,气压变小,水箱内的液体通过进水管流向活塞管内,当活塞向右运动时,在压力的作用,活塞管内的液体通过进入出水管内,再通过胶管由喷嘴喷出,对园林内的花草树木进行灌溉。

交易流程

  • 平台资深顾问将根据买家的需求,提供一对一服务,协助买家挑选到合适的专利。

  • 待买家确认无误后,根据顾问指导进行下单,并签订协议与合同,买家需要支付50%交易款给平台。

  • 平台将负责办理官方变更手续,向国知局提交转让材料。

  • 约10个工作日左右,待买家确认收到专利《变更手续合格通知书》后,向平台支付剩余交易款。

  • 转让成功后,平台会将专利证书原件、专利登记簿副本原件邮寄给买家,同时把交易尾款支付给卖家,保障双方交易顺利。

过户资料

主体资格 转让方提供 受让方提供 平台提供 转让完成,可获得
自然人 身份证复印件,专利证书原件; 身份证复印件
有效个体营业执照
转让申请书
代理委托书
转让协议书
发明人变更声明
专利证书
手续合格通知书
专利登记簿副本
公司 有效的企业营业执照副本复印件,专利证书原件 有效的企业营业执照副本复印件;企业组织机构代码证
平台专属代理事务所将对委托交易全程监督,确保所有交易合同及相关文件合法有效。

发布求购信息